- Partiron
- OEM Parts
- Suzuki
- Motorcycle
- 1993
- RMX250 (1993)
REAR MASTER CYLINDER (M/N/P/R)
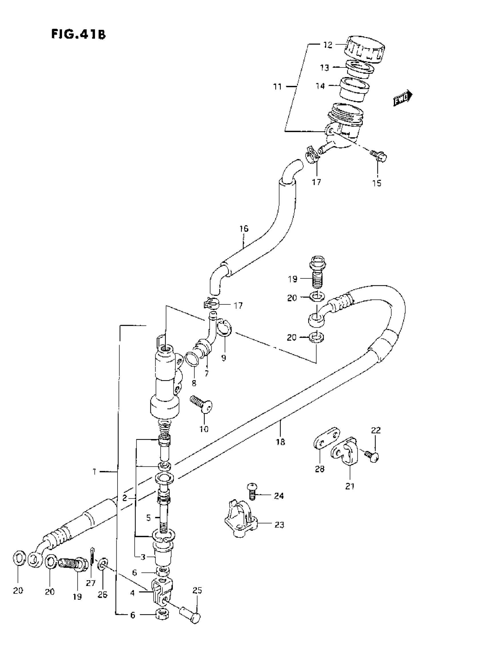
Suzuki RMX250 (1993) REAR MASTER CYLINDER (M/N/P/R) Diagram
#
Description
Price
1
CYLINDER ASSY, REAR MASTER
69600-28C00
Unavailable
16
HOSE, RESERVOIR TANK
69731-27C00
Unavailable
18
HOSE, REAR BRAKE
69480-05D10
Unavailable
26
WASHER
09160-08074
Unavailable
28
SEAT, HOSE GUIDE
61197-27C00
Unavailable
