Partiron

Suzuki RM85M3 (2023) TRANSMISSION Diagram

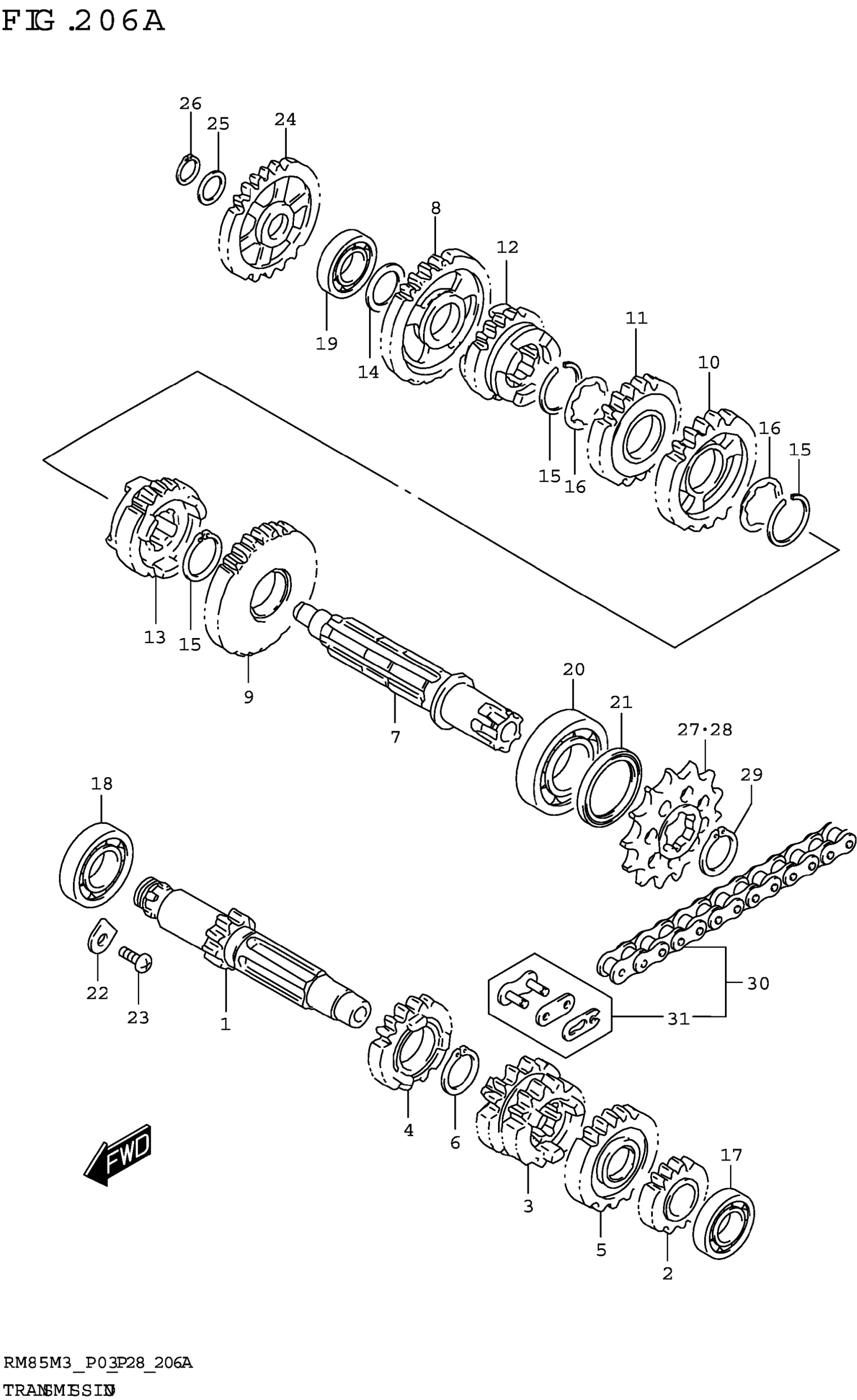
#

Description
Price

1

SHAFT,CNTR (NT:11)

24121-02B42

$173.58

2

GEAR,2ND DRIVE,NT:15 (NT:15)

24221-02B02

$55.00

3

GEAR,3RD & 4TH DRIVE,NT:14/15 | (NT:14/15)

24231-02B03

$109.08

4

GEAR,5TH DRIVE,NT:18 (NT:18)

24251-02B02

$80.52

5

GEAR,6TH DRIVE (NT:22)

24260-02B01

$87.70

6

CIRCLIP

09380-20009

$2.20

7

SHAFT,DRIVE

24131-02B01

$174.33

8

GEAR,1ST DRIVEN,NT:28 (NT:28)

24311-02B02

$113.25

9

GEAR,2ND DRIVEN,NT:29 (NT:29)

24321-02B02

$113.25

10

GEAR,3RD DRIVEN,NT:22 (NT:22)

24331-03B02

$71.33

11

GEAR,4TH DRIVEN,NT:20 (NT:20)

24341-03B02

$80.52

12

GEAR,5TH DRIVEN,NT:21 (NT:21)

24351-02B02

$87.70

13

GEAR,6TH DRIVEN,NT:23 (NT:23)

24361-02B03

$74.56

14

SHIM (15X26X1)

09181-15195

$2.57

15

CIRCLIP

09380-22006

$3.10

16

WASHER,LOCK (22.1X27X0.5)

09167-22011

$3.23

17

BEARING

08113-62027

$14.40

18

BEARING (20X42X12)

09262-20106

$29.35

19

BEARING

08113-62027

$14.40

20

BEARING (20X47X14)

09262-20069

$23.28

21

OIL SEAL (20X35X5)

09283-20057

$6.02

22

RETAINER

24741-21A00

$2.81

23

SCREW

02112-0612A

$1.49

24

GEAR,KICK STARTER IDLE,NT:24 | NT:24)

26260-02B40

$76.63

25

SHIM (12X20X0.5)

09181-12158

$2.26

26

CIRCLIP

08331-3112A

$1.78

27

SPROCKET,ENGINE,NT:14 (NT:14)

27511-20421

$23.32

28

SPROCKET,ENGINE,NT:13 (NT:13)

27511-20401

$26.90

29

CIRCLIP

09380-20009

$2.20

30

CHAIN ASSY,DRIVE (DID428DS,11 | L)

27600-05350

$183.50

31

.JOINT SET,CHAIN

27620-03B00

$11.18