- Partiron
- OEM Parts
- Suzuki
- Motorcycle
- 2023
- RM85M3 (2023)
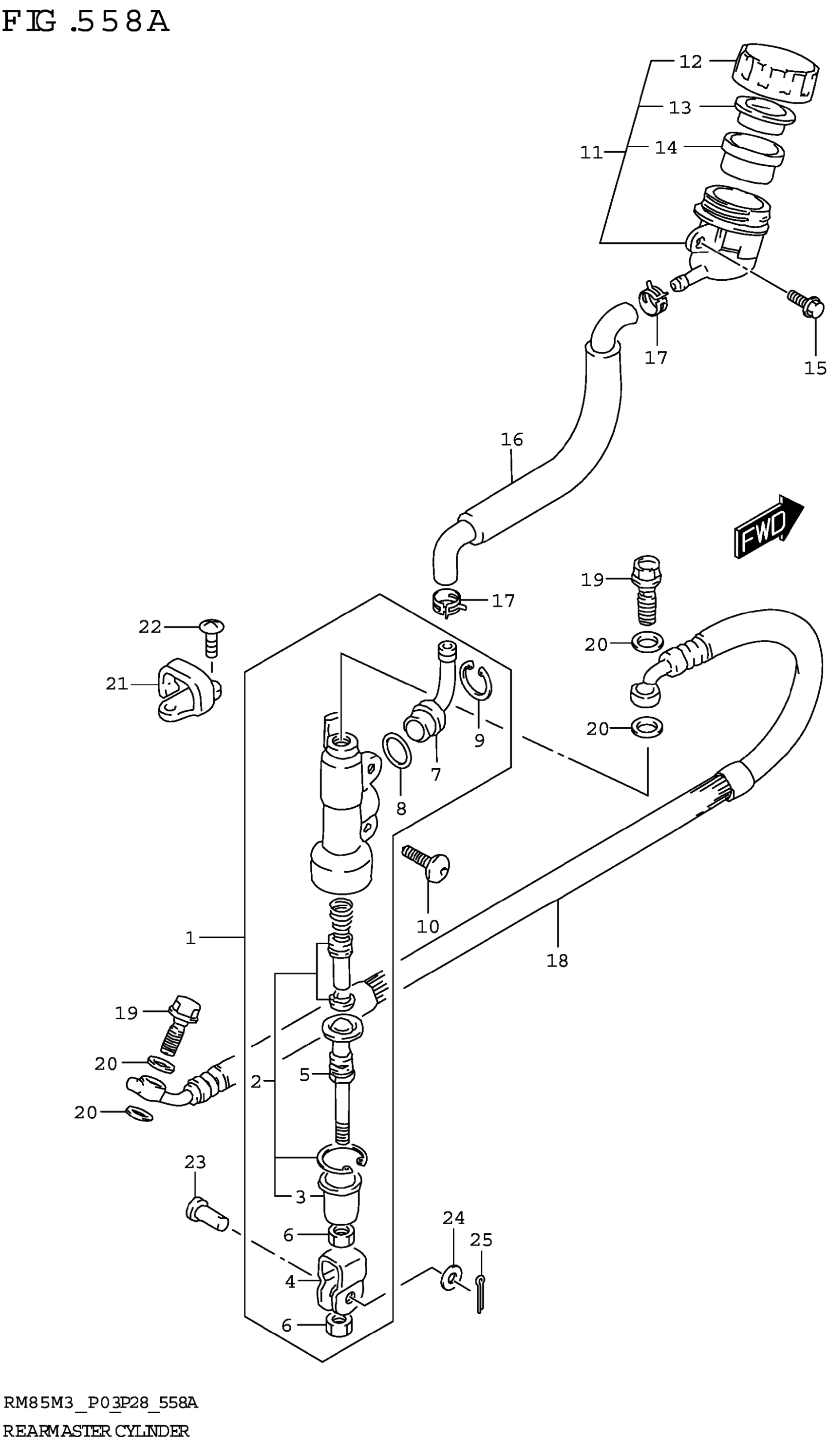
REAR MASTER CYLINDER
Suzuki RM85M3 (2023) REAR MASTER CYLINDER Diagram
#
Description
Price
1
CYLINDER ASSY,REAR MASTER
69600-03B00
Unavailable
11
TANK ASSY,RR BRAKE RESERVOIR
69740-03D20
Unavailable
