- Partiron
- OEM Parts
- Suzuki
- Motorcycle
- 2018
- RM85L8 (2018)
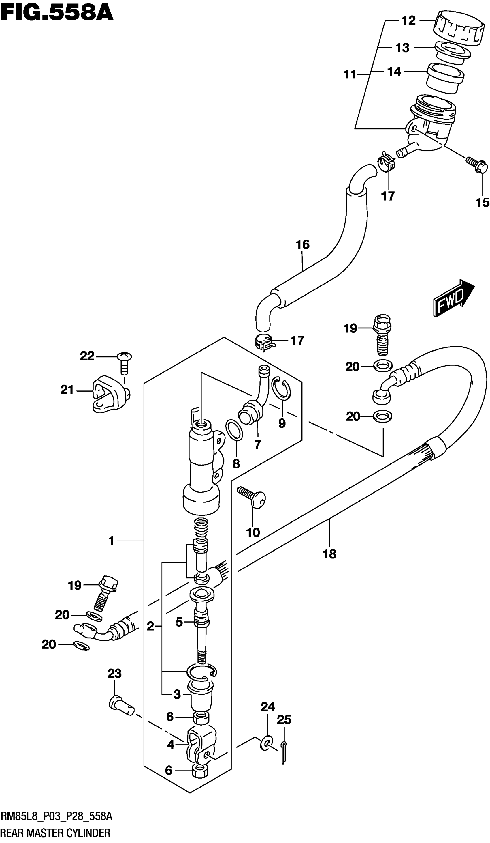
REAR MASTER CYLINDER
Suzuki RM85L8 (2018) REAR MASTER CYLINDER Diagram
#
Description
Price
1
CYLINDER ASSY,REAR MASTER
69600-03B00
Unavailable
