- Partiron
- OEM Parts
- Suzuki
- Motorcycle
- 2016
- RM85L6 (2016)
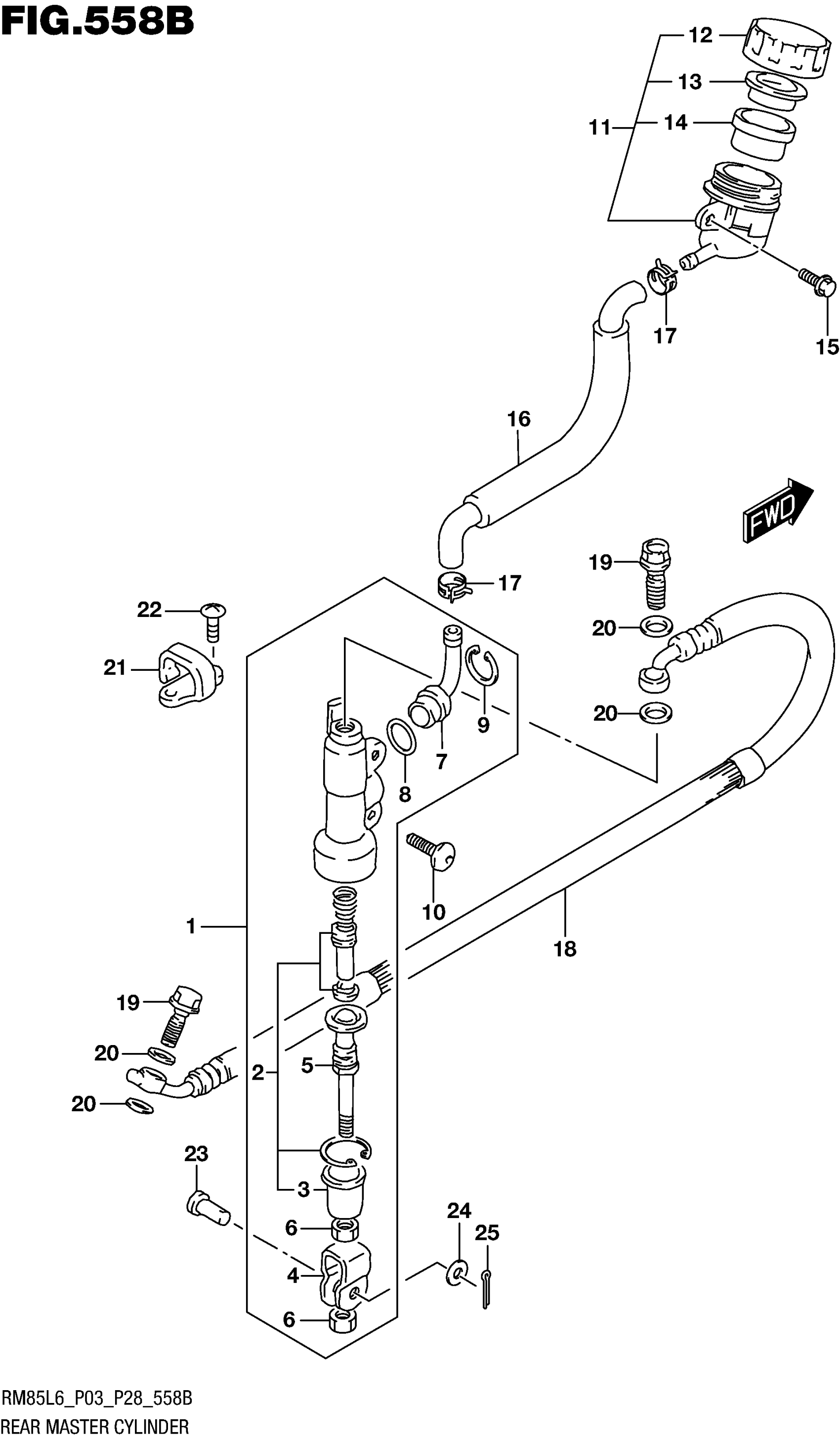
REAR MASTER CYLINDER (RM85L6 P28)
Suzuki RM85L6 (2016) REAR MASTER CYLINDER (RM85L6 P28) Diagram
#
Description
Price
1
CYLINDER ASSY, REAR MASTER
69600-03B00
Unavailable
