Partiron

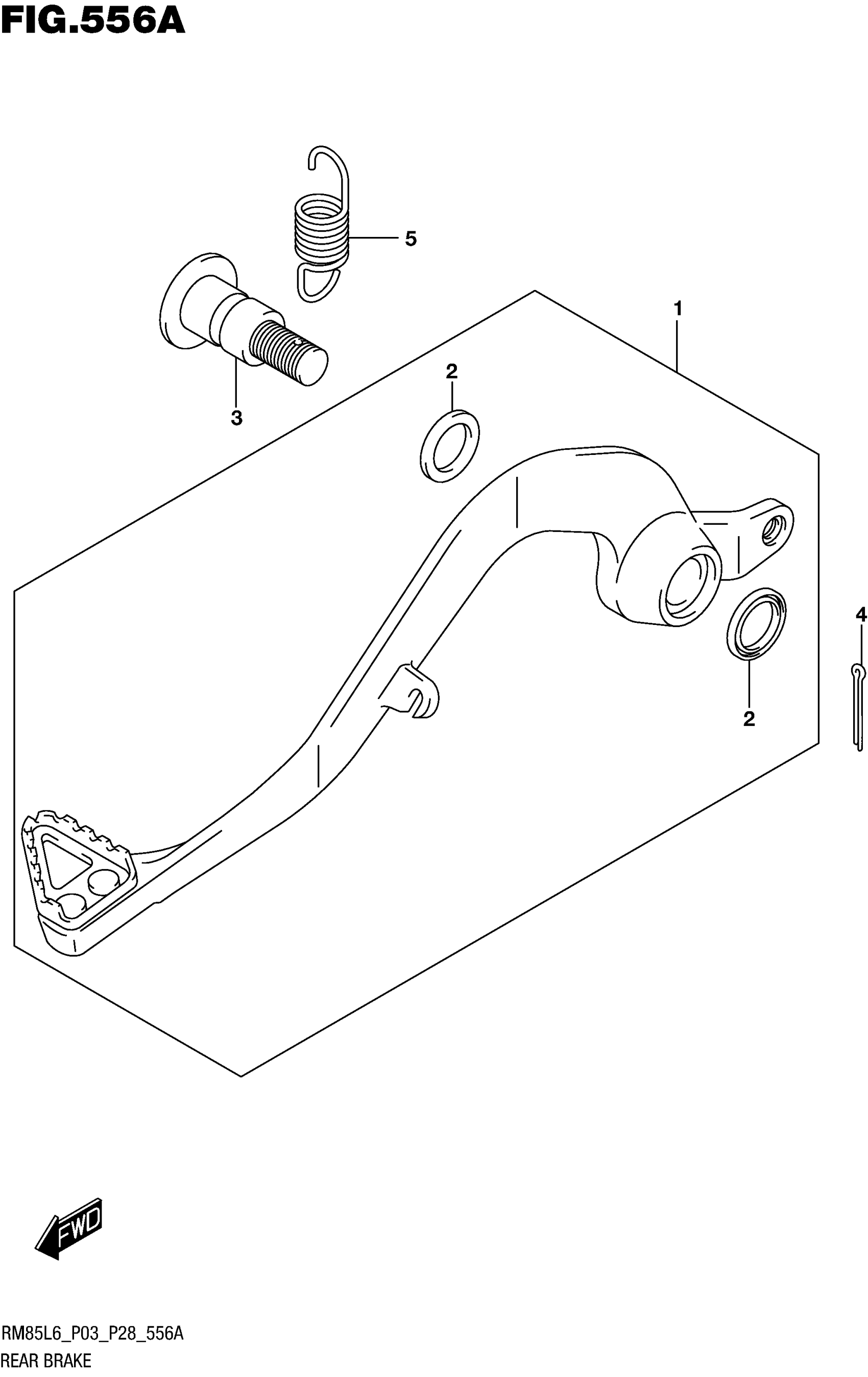
Suzuki RM85L6 (2016) REAR BRAKE Diagram

#

Description
Price

1

PEDAL ASSY, BRAKE

43100-03B10

$229.13

2

.OIL SEAL (15X21X3)

09284-15006

$3.55

3

SHAFT, BRAKE PEDAL

43142-37F00

$23.40

4

COTTER PIN

04111-2020A

$1.49

5

SPRING

09443-13024

$4.50