- Partiron
- OEM Parts
- Suzuki
- Motorcycle
- 2012
- RM85L2 (2012)
REAR MASTER CYLINDER (RM85)
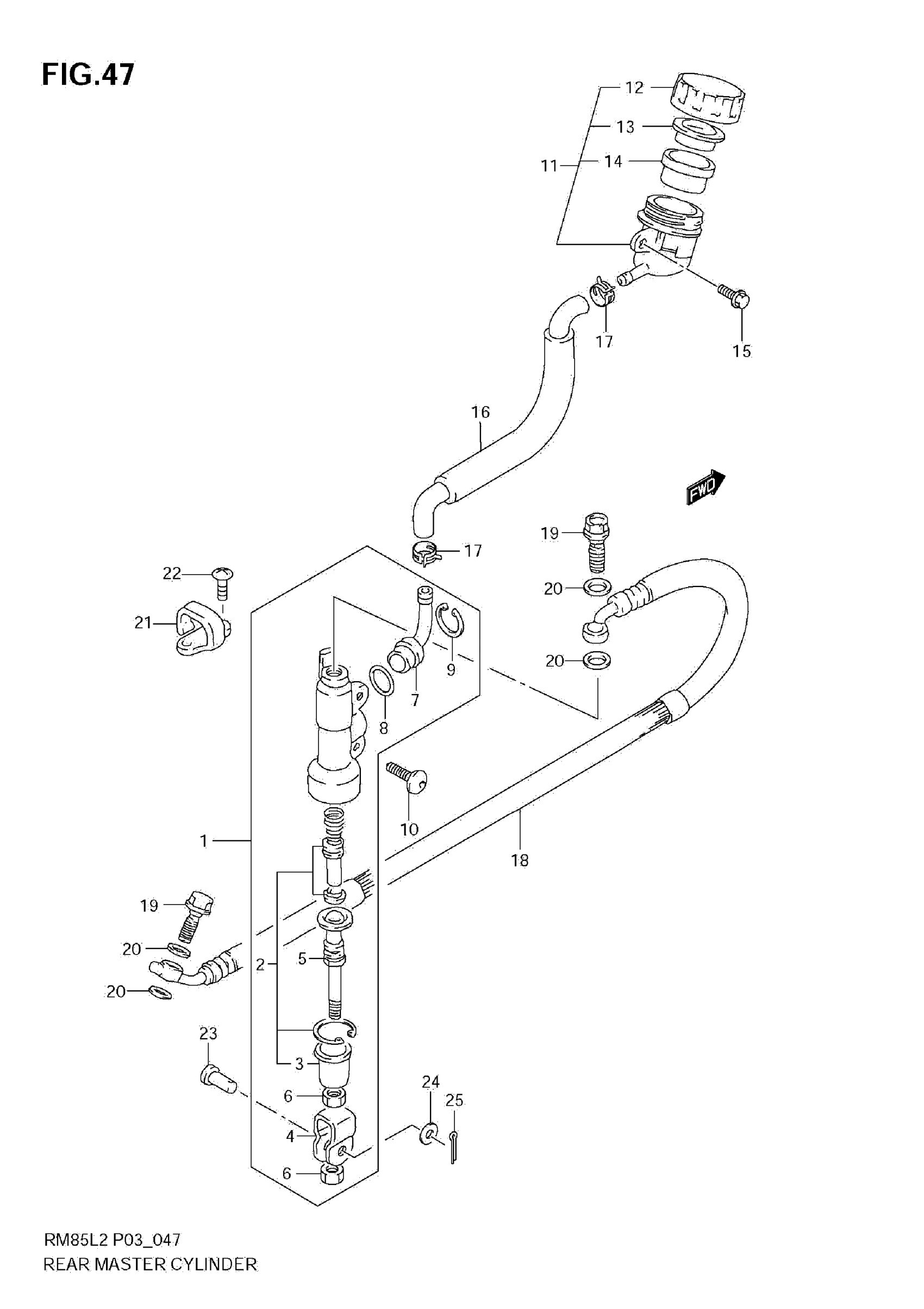
Suzuki RM85L2 (2012) REAR MASTER CYLINDER (RM85) Diagram
#
Description
Price
1
CYLINDER ASSY, REAR MASTER
69600-03B00
Unavailable
