- Partiron
- OEM Parts
- Suzuki
- Motorcycle
- 2008
- RM85 (2008)
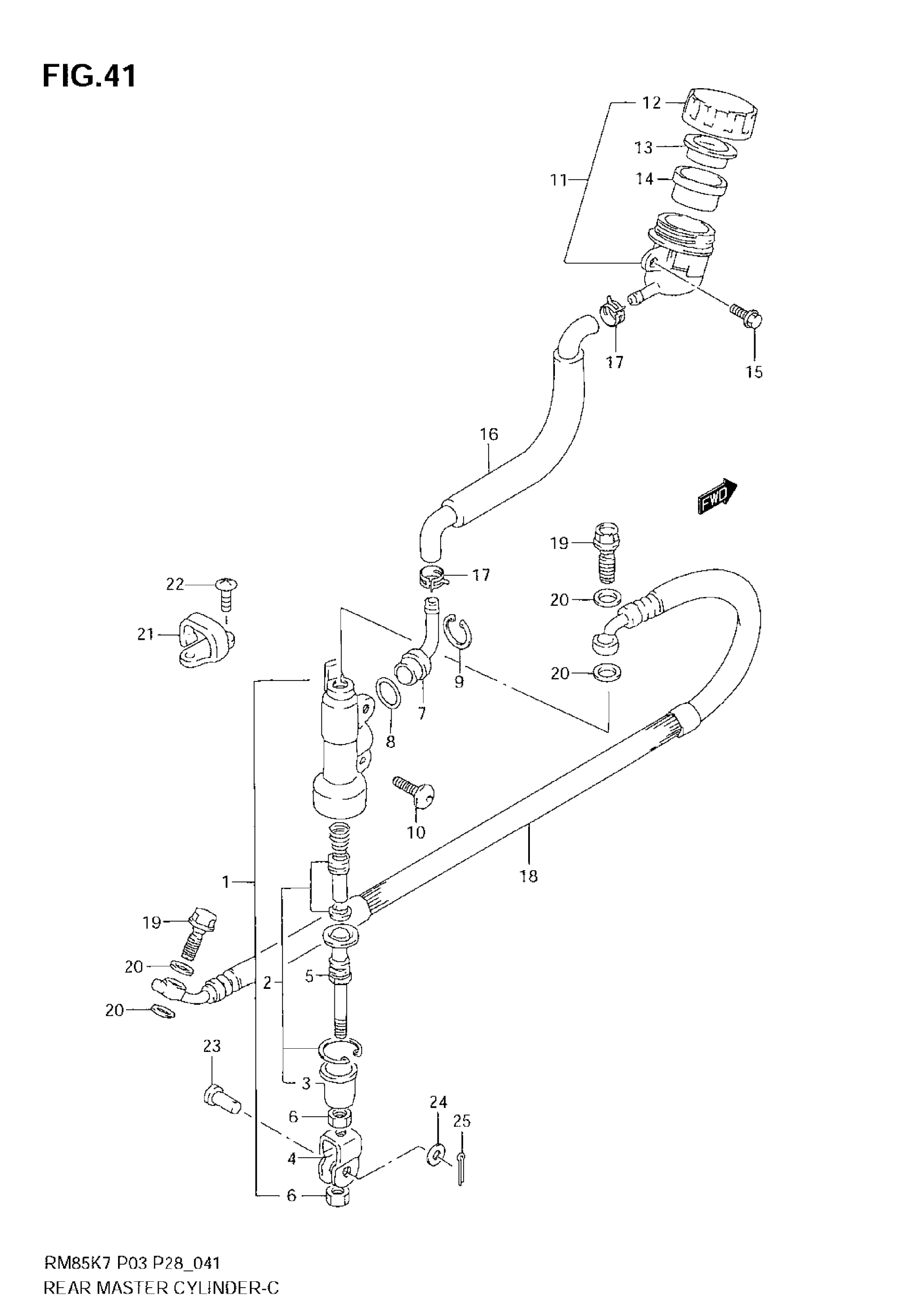
REAR MASTER CYLINDER
Suzuki RM85 (2008) REAR MASTER CYLINDER Diagram
#
Description
Price
1
CYLINDER ASSY, REAR MASTER | Includes Item(s) 2 - 9
69600-03B00
Unavailable
