- Partiron
- OEM Parts
- Suzuki
- Motorcycle
- 2006
- RM85 (2006)
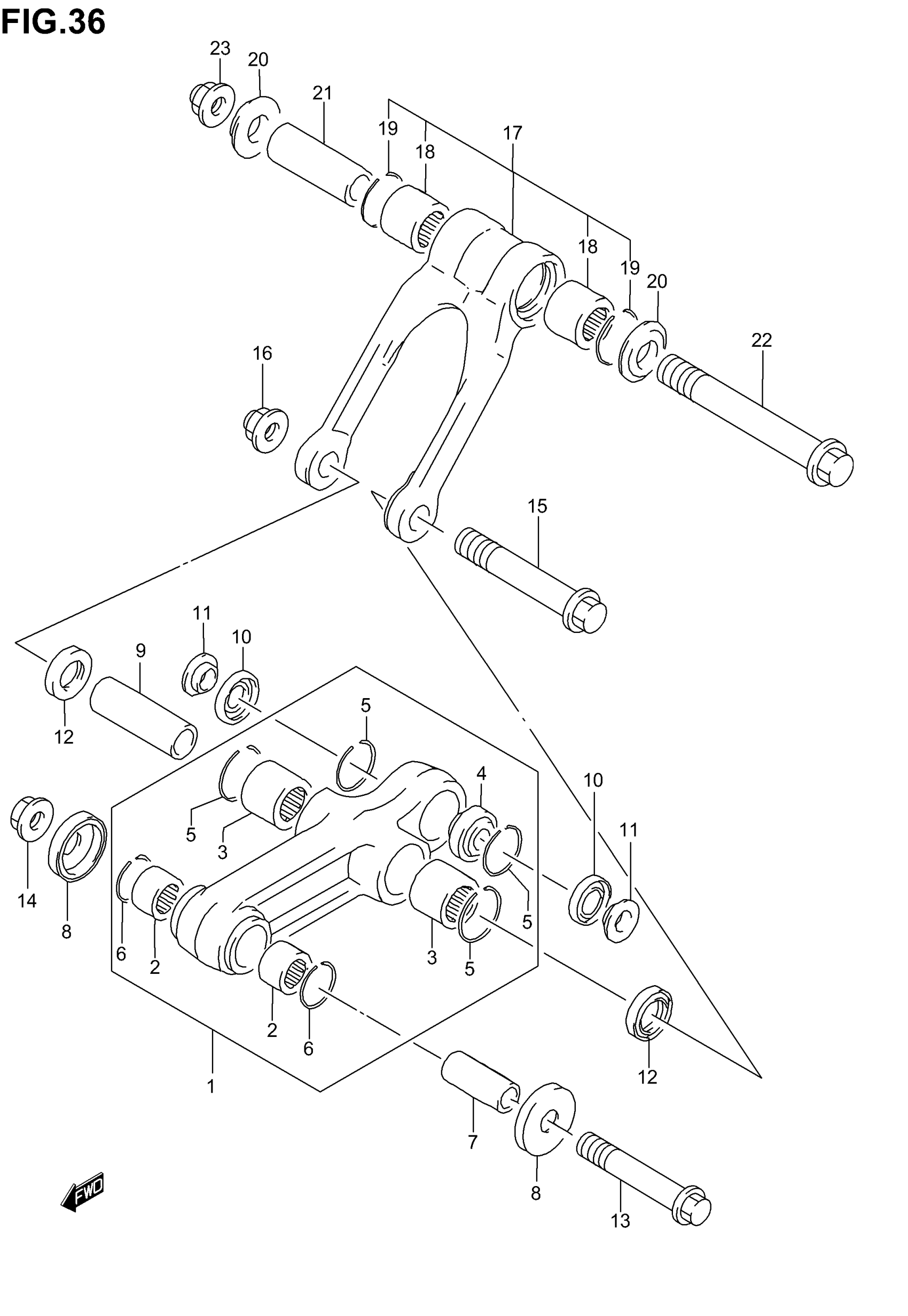
REAR CUSHION LEVER (MODEL K2/K3)
Suzuki RM85 (2006) REAR CUSHION LEVER (MODEL K2/K3) Diagram
#
Description
Price
1
LEVER SET, REAR CUSHION | Includes Item(s) 2 - 6
62600-02840
Unavailable
17
ROD SET, CUSHION LEVER | Includes Item(s) 18 - 19
62600-03850
Unavailable
