- Partiron
- OEM Parts
- Suzuki
- Motorcycle
- 2006
- RM85 (2006)
FRONT FORK DAMPER (MODEL K2/K3/K4)
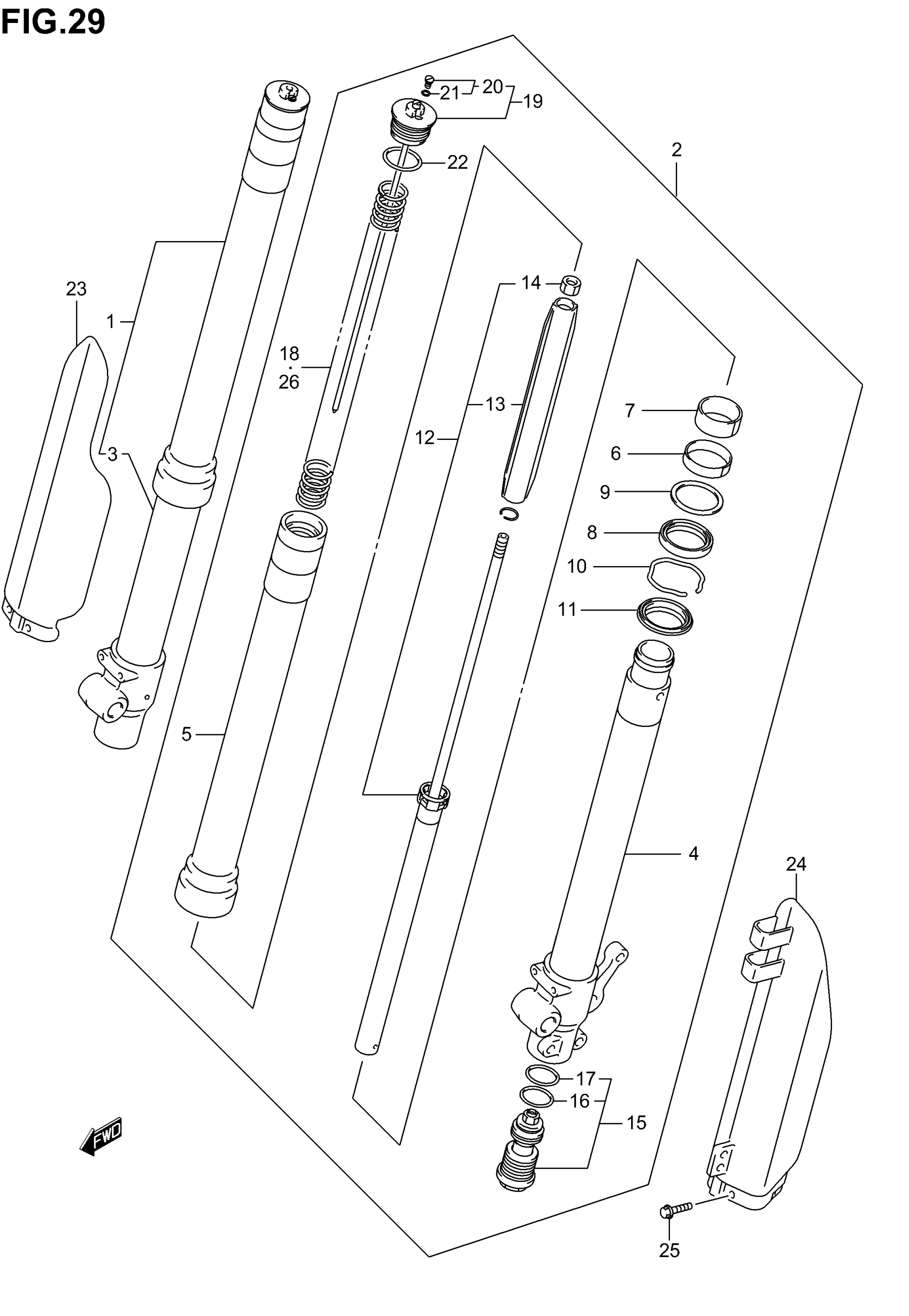
Suzuki RM85 (2006) FRONT FORK DAMPER (MODEL K2/K3/K4) Diagram
#
Description
Price
1
DAMPER ASSY, FRONT FORK RH | MODEL K2/K3
51103-03B30
Unavailable
1
DAMPER ASSY, FRONT FORK RH | MODEL K4
51103-03B50
Unavailable
2
DAMPER ASSY, FRONT FORK LH | MODEL K2/K3
51104-03B30
Unavailable
2
DAMPER ASSY, FRONT FORK LH | MODEL K4; Includes Item(s) 3 - 22
51104-03B50
Unavailable
3
TUBE, INNER RH
51110-03B30
Unavailable
4
TUBE, INNER LH
51120-03B30
Unavailable
12
CYLINDER
51190-03B30
Unavailable
14
NUT
51129-03B30
Unavailable
15
BOLT, CENTER
51170-03B30
Unavailable
18
SPRING, FRONT (K=0.26)
51171-03B30
Unavailable
19
BOLT, FORK
51351-03B30
Unavailable
23
PROTECTOR, RH
51501-03B00
Unavailable
24
PROTECTOR, LH
51511-03B00
Unavailable
26
SPRING, FRONT (K=0.24) | OPT,SOFT
51171-03B40
Unavailable
26
SPRING, FRONT (K=0.28) | OPT,HARD
51171-03B50
Unavailable
26
SPRING, FRONT (K=0.30) | OPT,HARD
51171-SHOWA-003
Unavailable
