- Partiron
- OEM Parts
- Suzuki
- Motorcycle
- 1995
- RM80S (1995)
TRANSMISSION
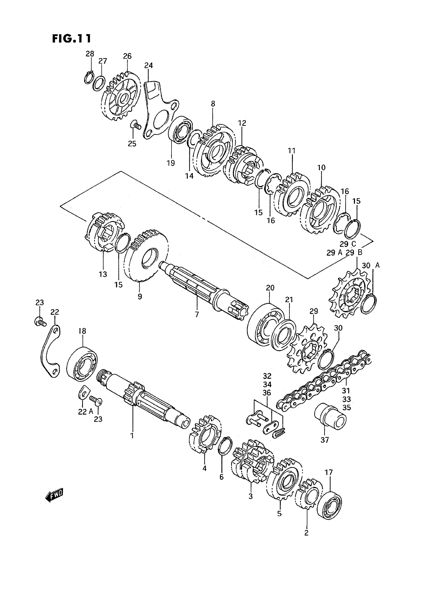
Suzuki RM80S (1995) TRANSMISSION Diagram
#
Description
Price
1
COUNTERSHAFT (NT:11) | MODEL G/H/J
24121-02B02
Unavailable
17
BEARING, LH | MODEL G/H/J/N
08113-60027
Unavailable
22
RETAINER, BEARING | MODEL G/H/J
24741-48000
Unavailable
24
RETAINER, BEARING | MODEL G/H/J
24751-02B02
Unavailable
26
GEAR, KICK IDLE (NT:27) | MODEL G/H/J
26260-02B00
Unavailable
29
SPROCKET, ENGINE (NT:14) | MODEL G/H/J
27511-02B00
Unavailable
29
SPROCKET, ENGINE (NT:13) | MODEL G/H/J OPT
27511-04710
Unavailable
31
CHAIN ASSY,DRIV | MODEL G/H/J; Includes Item(s) 32 This part replaces 27600-02B11-120.
27600-01012-130
Unavailable
32
JOINT (DID) | MODEL G/H/J
27620-02B11
Unavailable
32
JOINT (RK) | MODEL G/H/J
27620-02B20
Unavailable
33
CHAIN ASSY,DRIV | 132->118L,MODEL K; Includes Item(s) 34 This part replaces 27600-20931.
27600-46912-134
$70.38
35
CHAIN, DRIVE (DID428DS,118L) | MODEL K/L/M/N/P/R/S; Includes Item(s) 36 This part replaces 27600-02B40-118.
27600-05350
$183.50
37
CUSHION, CHAIN | MODEL G/H/J
09180-12116
Unavailable
