- Partiron
- OEM Parts
- Suzuki
- Motorcycle
- 1995
- RM80S (1995)
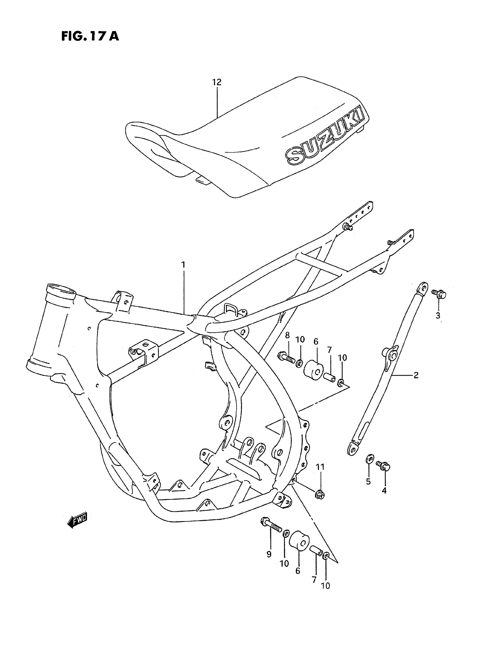
FRAME - SEAT (MODEL M/N)
Suzuki RM80S (1995) FRAME - SEAT (MODEL M/N) Diagram
#
Description
Price
1
FRAME SET (YELLOW) | MODEL M This part replaces 41101-03810-0RP.
41101-03820-1AZ
Unavailable
1
FRAME SET (YELLOW) | MODEL N; Includes Item(s) 2 - 5
41101-03820-1AZ
Unavailable
2
TUBE, FRAME SIDE LH (YELLOW)
41670-02B30-0RP
Unavailable
12
SEAT ASSY | MODEL M
45100-03B10-E83
Unavailable
12
SEAT ASSY | MODEL N
45100-03B10-K33
Unavailable
13
REFER TO FIG.17B(E-5) FOR
SPECIAL NOTE
Unavailable
