- Partiron
- OEM Parts
- Suzuki
- Motorcycle
- 2001
- RM80 (2001)
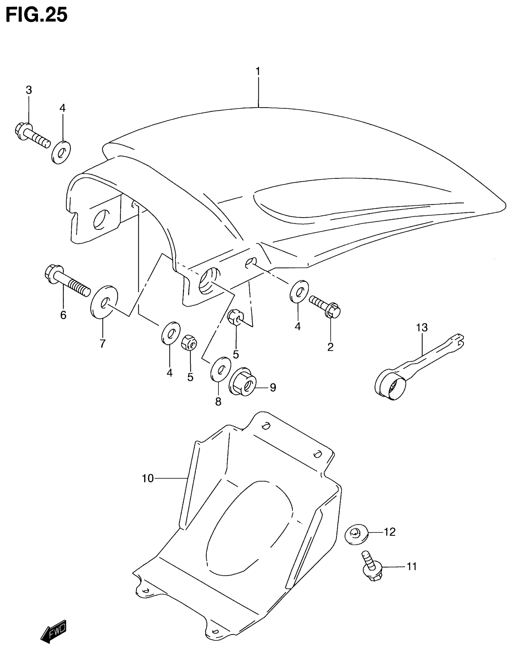
REAR FENDER
Suzuki RM80 (2001) REAR FENDER Diagram
#
Description
Price
13
BOX SPANNER, 21
09816-00126
Unavailable
REAR FENDER
#
13
09816-00126
Unavailable
Edit ride
