- Partiron
- OEM Parts
- Suzuki
- Motorcycle
- 2001
- RM80 (2001)
CARBURETOR
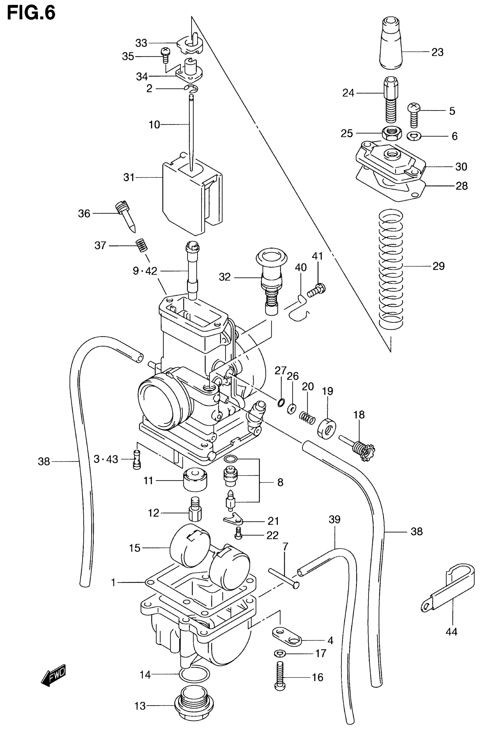
Suzuki RM80 (2001) CARBURETOR Diagram
#
Description
Price
CARBURETOR ASSY | Includes Item(s) 1 - 28
13200-03B00
Unavailable
9
JET, NEEDLE (P-4)
09494-00523
Unavailable
11
RING
13331-28710
Unavailable
12
JET, MAIN (210)
09491-42005
Unavailable
13
PLUG, DRAIN
13247-46900
Unavailable
15
FLOAT
13252-02B50
Unavailable
29
SPRING, THROTTLE VALVE | Includes Item(s) 30 - 41
13573-16700
Unavailable
30
CAP, TOP
13261-16700
Unavailable
31
VALVE, PISTON (CA:4.0)
13551-20910
Unavailable
32
PLUNGER ASSY
13410-26410
Unavailable
33
RING
13629-16700
Unavailable
34
CONNECTOR
13398-16700
Unavailable
40
CLIP
13692-14500
Unavailable
42
JET, NEEDLE (P-0) | OPT
09494-00519
Unavailable
42
JET, NEEDLE (P-2) | OPT
09494-00522
Unavailable
42
JET, NEEDLE (P-6) | OPT
09494-00585
Unavailable
43
JET, PILOT (35) | OPT
09492-35004
Unavailable
