- Partiron
- OEM Parts
- Suzuki
- Motorcycle
- 1995
- RM80 (1995)
REAR MASTER CYLINDER (MODEL M/N/P/R/S)
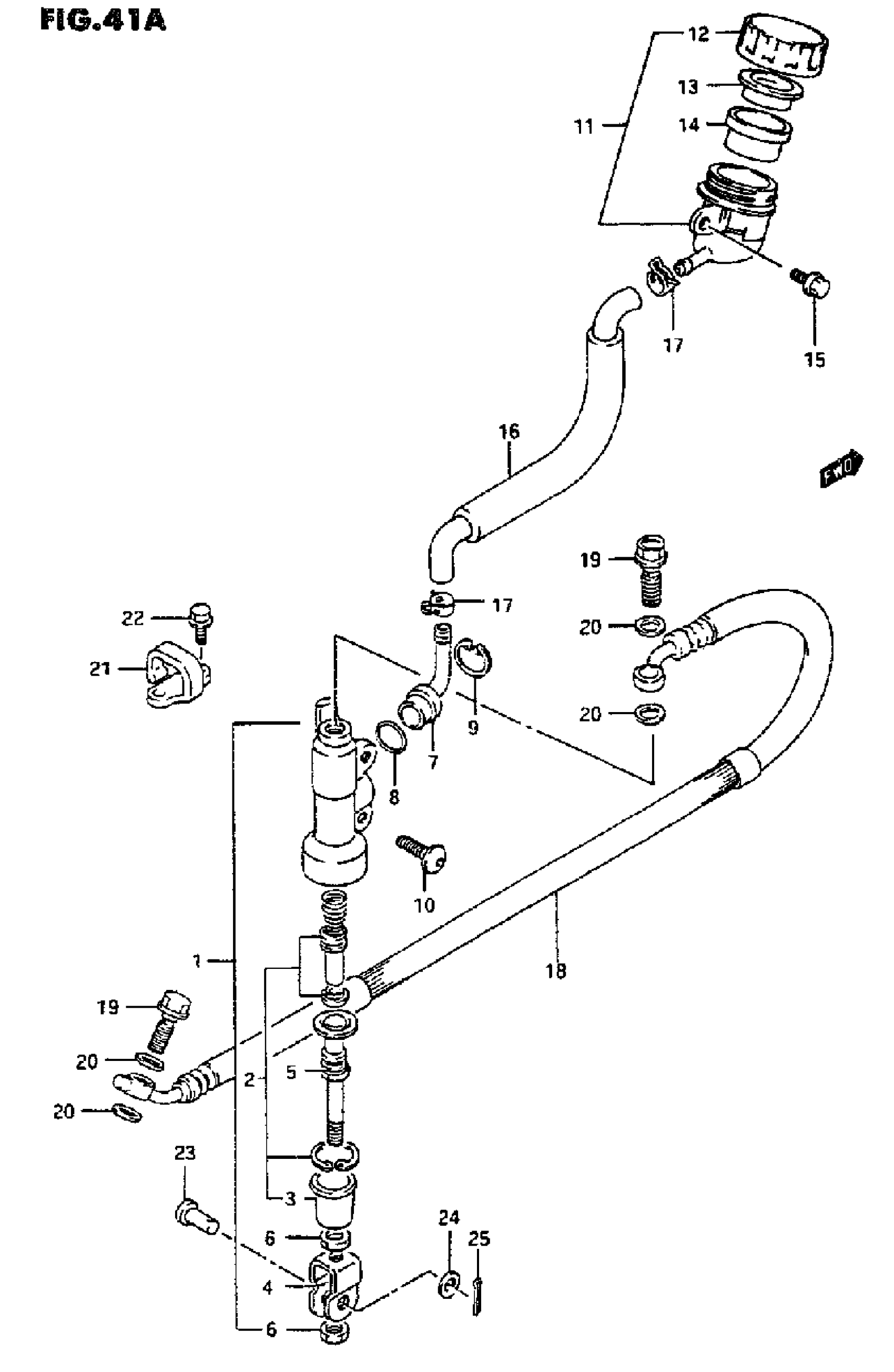
Suzuki RM80 (1995) REAR MASTER CYLINDER (MODEL M/N/P/R/S) Diagram
#
Description
Price
1
CYLINDER ASSY. REAR MASTER
69600-02B40
Unavailable
18
HOSE, REAR BRAKE
69480-02B41
Unavailable
24
WASHER
09160-08074
Unavailable
