- Partiron
- OEM Parts
- Suzuki
- Motorcycle
- 1981
- RM80 (1981)
FRONT FORK
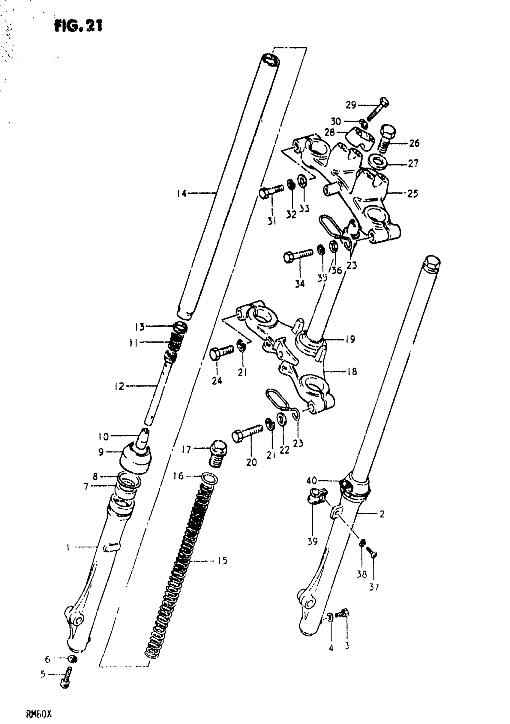
Suzuki RM80 (1981) FRONT FORK Diagram
#
Description
Price
0
FRONT FORK ASSY (GOLD) | RM80T This part replaces 51100-20300-08C.
51100-20301-08C
Unavailable
0
FRONT FORK ASSY (GOLD) | RM80X; Includes Item(s) 1 - 40
51100-20301-08C
Unavailable
1
OUTER TUBE, RH
51131-20300
Unavailable
2
NO DESCRIPTION AVAILABLE
51141--2030-0
Unavailable
10
.PIECE, OIL LOCK
51195-48000
Unavailable
11
SPRING
51177-36030
Unavailable
12
CYLINDER
51146-20300
Unavailable
14
INNER TUBE
51110-20300
Unavailable
15
SPRING
51171-20300
Unavailable
17
.BOLT
51351-48000
Unavailable
18
STEM, STEERING (GOLD)
51410-46911-08C
Unavailable
23
CLIP
51455-20301
Unavailable
25
STEM HEAD, STEERING (GOLD)
51311-46910-08C
Unavailable
26
NO DESCRIPTION AVAILABLE This part replaces 51352-48000.
51352-13600
Unavailable
27
WASHER
51356-20300
Unavailable
28
HOLDER, HANDLE (GOLD)
56211-46680-08C
Unavailable
40
GUIDE
51455-20310
Unavailable
