- Partiron
- OEM Parts
- Suzuki
- Motorcycle
- 1984
- RM500 (1984)
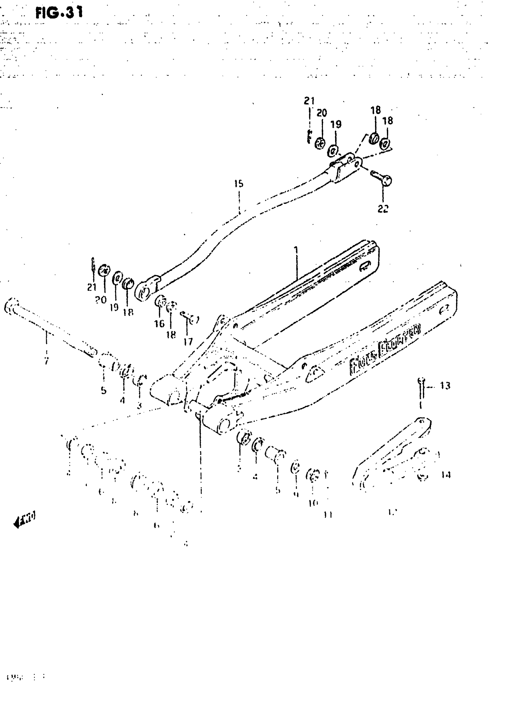
REAR SWINGING ARM (MODEL D)
Suzuki RM500 (1984) REAR SWINGING ARM (MODEL D) Diagram
#
Description
Price
1
REAR SWINGING ARM SET | Includes Item(s) 2 - 4
61000-14210
Unavailable
2
BUSH This part replaces 61261-40402.
61261-27C00
Unavailable
5
SPACER
61251-14100
Unavailable
6
SPACER, INNER
61252-14100
Unavailable
7
SHAFT, PIVOT
61211-14102
Unavailable
12
BUFFER, CHAIN DEFENCE
61273-14211
Unavailable
13
BOLT
09100-06062
Unavailable
15
TORQUE LINK SET | Includes Item(s) 16
64300-14820
Unavailable
16
BEARING This part replaces 64352-40411.
64352-40401
Unavailable
17
BOLT, FRONT
09101-08003
Unavailable
22
BOLT, REAR
09101-08014
Unavailable
