- Partiron
- OEM Parts
- Suzuki
- Motorcycle
- 1982
- RM465 (1982)
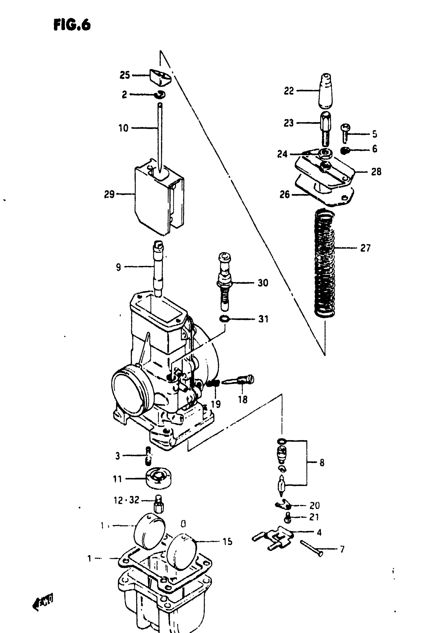
CARBURETOR (MODEL Z)
Suzuki RM465 (1982) CARBURETOR (MODEL Z) Diagram
#
Description
Price
0
CARBURETOR ASSY | Includes Item(s) 1 - 32
13200-14220
Unavailable
1
GASKET
13251-14300
Unavailable
3
JET, PILOT (50)
09492-50010
Unavailable
4
ARM
13253-40010
Unavailable
8
VALVE ASSY,NEED This part replaces 13370-14300.
13370-43B01
Unavailable
9
JET, NEEDLE (R-0)
09494-00357
Unavailable
10
NEEDLE, JET (6FJ41-4)
13383-14220
Unavailable
11
RING
13331-14300
Unavailable
25
PLATE
13259-14300
Unavailable
26
RING
13387-14300
Unavailable
27
GASKET, TOP
13266-14300
Unavailable
28
SPRING, THROTTLE VALVE
13573-14300
Unavailable
29
TOP
13261-14300
Unavailable
30
THROTTLE VALVE (CA:3.0)
13551-14220
Unavailable
31
PLUNGER This part replaces 13411-43200.
13400-14500
Unavailable
33
JET, MAIN (290) | OPT This part replaces 09491-58001.
09491-58002
Unavailable
