- Partiron
- OEM Parts
- Suzuki
- Motorcycle
- 2008
- RM250 (2008)
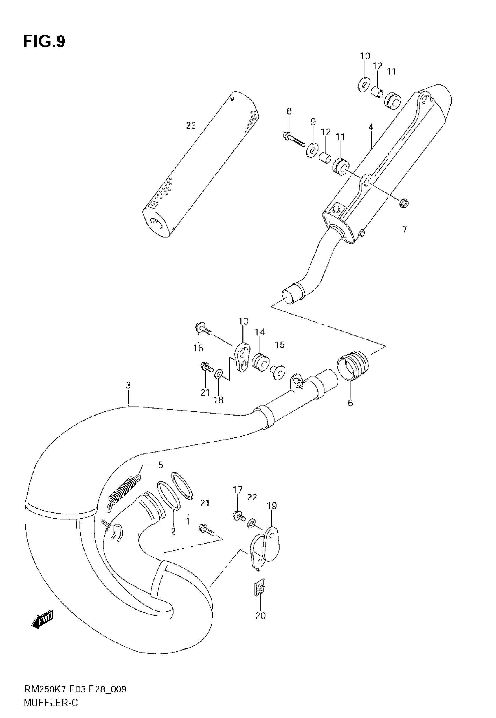
MUFFLER
Suzuki RM250 (2008) MUFFLER Diagram
#
Description
Price
23
SILENCER, MUFFLER | OPT E3
14351-37E30
Unavailable
23
SILENCER, MUFFLER | OPT E28
14351-37F50
Unavailable
