- Partiron
- OEM Parts
- Suzuki
- Motorcycle
- 2006
- RM250 (2006)
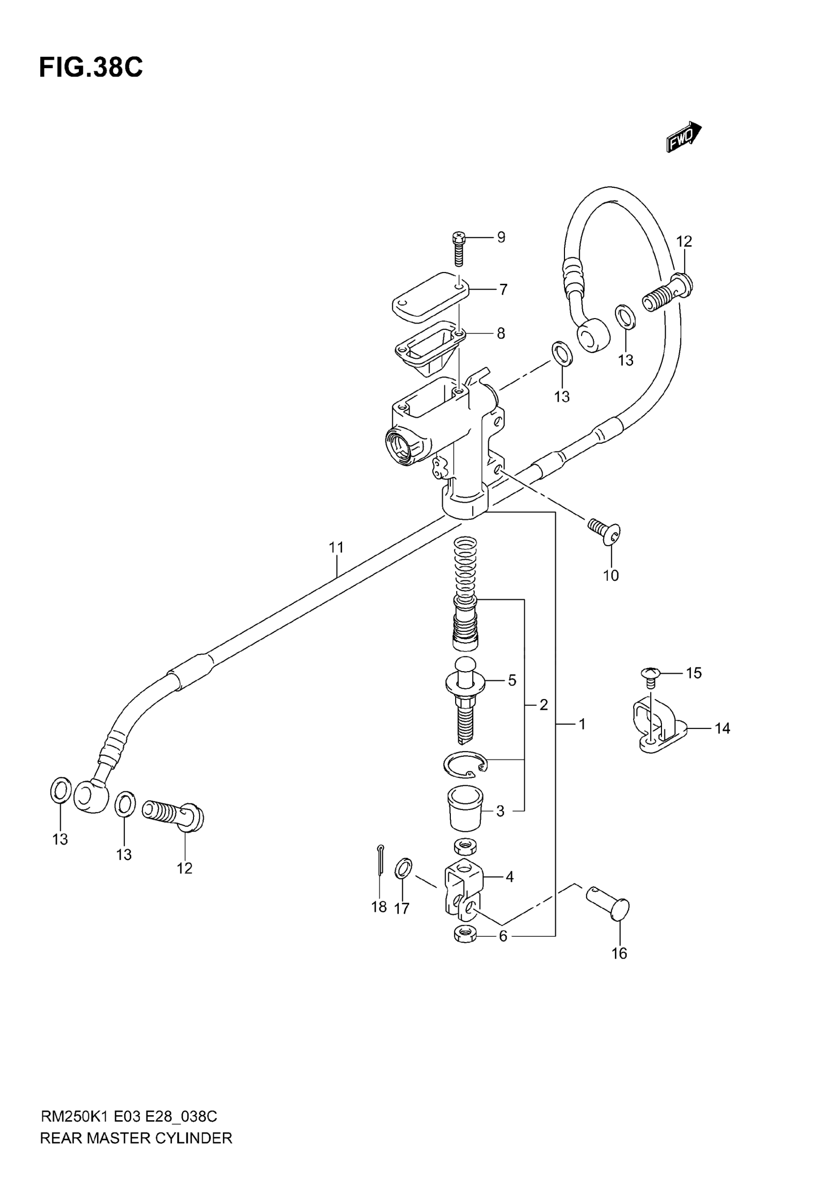
REAR MASTER CYLINDER (MODEL K5/K6)
Suzuki RM250 (2006) REAR MASTER CYLINDER (MODEL K5/K6) Diagram
#
Description
Price
REAR MASTER CYLINDER (MODEL K5/K6)
#
Edit ride
