- Partiron
- OEM Parts
- Suzuki
- Motorcycle
- 2006
- RM250 (2006)
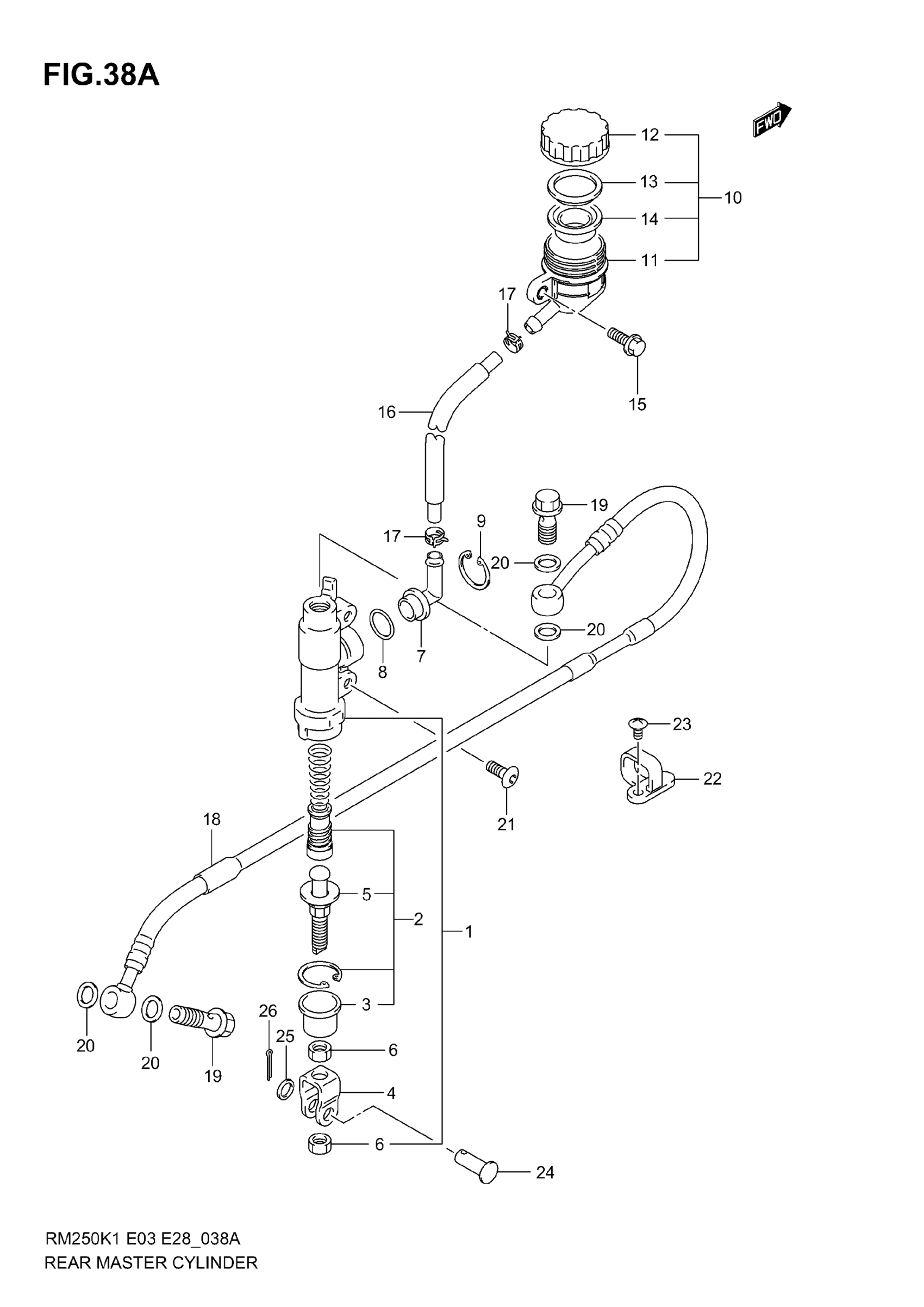
REAR MASTER CYLINDER (MODEL K3)
Suzuki RM250 (2006) REAR MASTER CYLINDER (MODEL K3) Diagram
#
Description
Price
1
NO DESCRIPTION AVAILABLE | Includes Item(s) 2 - 9 This part replaces 69600-37F10.
69600-37F11
Unavailable
4
YOKE
69692-37F10
Unavailable
5
NO DESCRIPTION AVAILABLE This part replaces 69670-27A40.
69670-37F00
Unavailable
16
HOSE
69731-37F00
Unavailable
18
NO DESCRIPTION AVAILABLE This part replaces 69480-36F10.
69480-36F11
Unavailable
