- Partiron
- OEM Parts
- Suzuki
- Motorcycle
- 2006
- RM250 (2006)
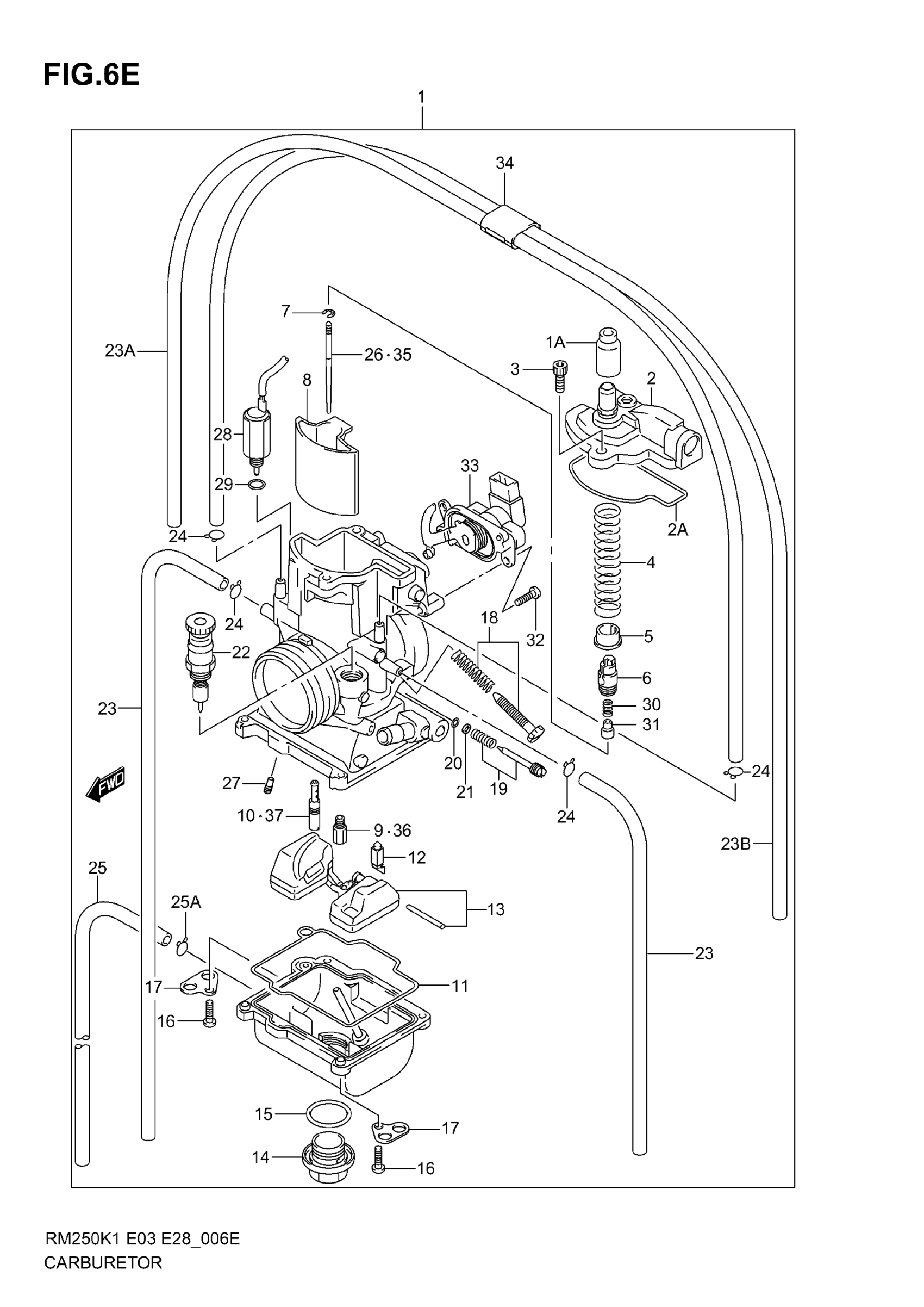
CARBURETOR (MODEL K6)
Suzuki RM250 (2006) CARBURETOR (MODEL K6) Diagram
#
Description
Price
1
CARBURETOR ASSY | E3
13200-37FA0
Unavailable
1
CARBURETOR ASSY | E28; Includes Item(s) 1A - 34
13200-37FB0
Unavailable
2
TOP
13261-37F80
Unavailable
8
VALVE, THROTTLE
13551-37F80
Unavailable
32
SCREW
13602-37F00
Unavailable
36
JET, MAIN (185) | OPT
09491-37008
Unavailable
36
JET, MAIN (190) | OPT
09491-38011
Unavailable
36
JET, MAIN (195) | OPT
09491-39001
Unavailable
36
JET, MAIN (205) | OPT
09491-41001
Unavailable
36
JET, MAIN (210) | OPT
09491-42006
Unavailable
37
JET, PILOT (60) | OPT
09492-60016
Unavailable
