- Partiron
- OEM Parts
- Suzuki
- Motorcycle
- 1993
- RM250 (1993)
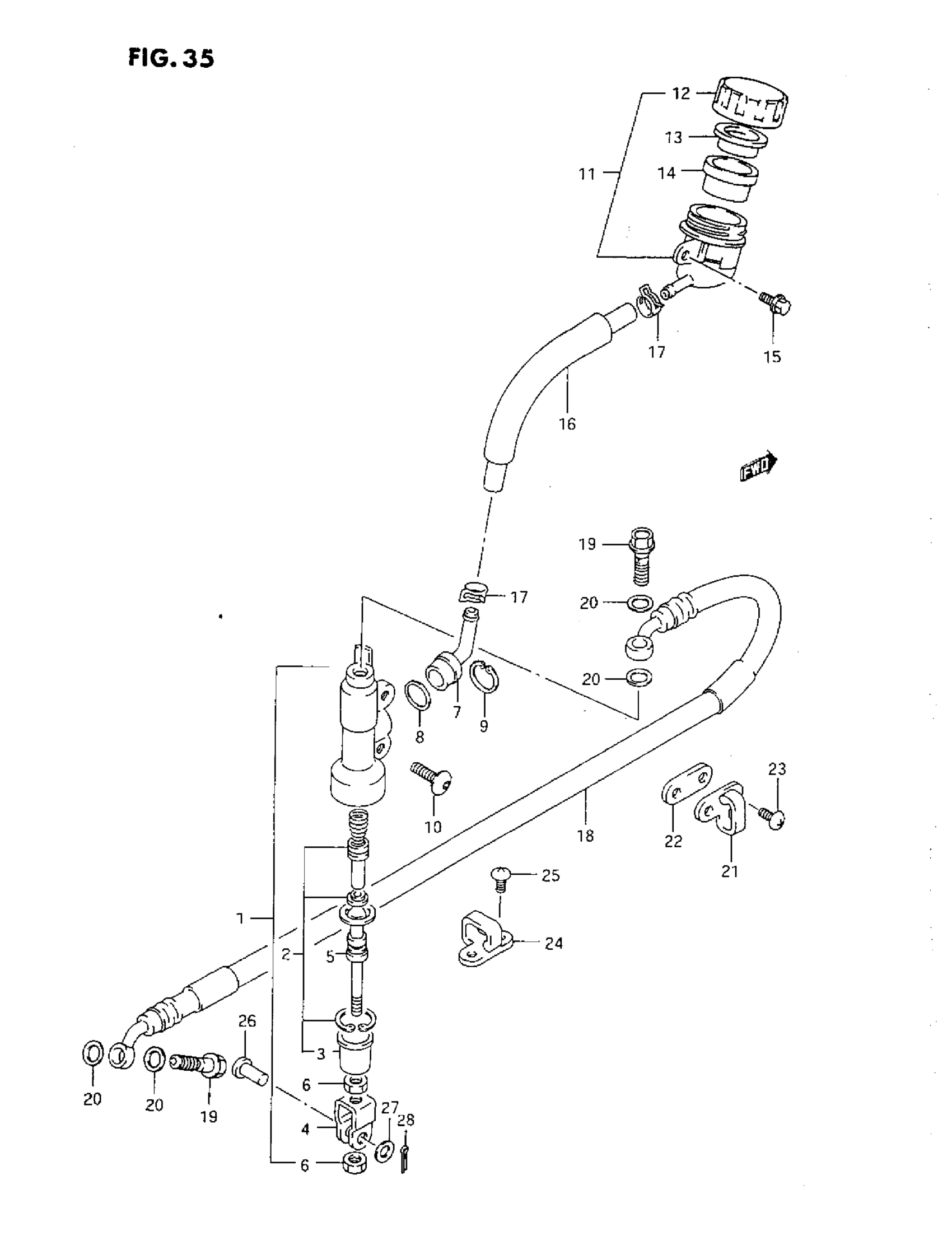
REAR MASTER CYLINDER
Suzuki RM250 (1993) REAR MASTER CYLINDER Diagram
#
Description
Price
1
CYLINDER ASSY, REAR MASTER
69600-28E00
Unavailable
16
HOSE, RESERVOIR TANK
69731-27C00
Unavailable
18
HOSE, REAR BRAKE This part replaces 69480-27C10.
69480-28E00
Unavailable
22
SEAT, HOSE GUIDE
61197-27C00
Unavailable
27
WASHER
09160-08074
Unavailable
