- Partiron
- OEM Parts
- Suzuki
- Motorcycle
- 1981
- RM250 (1981)
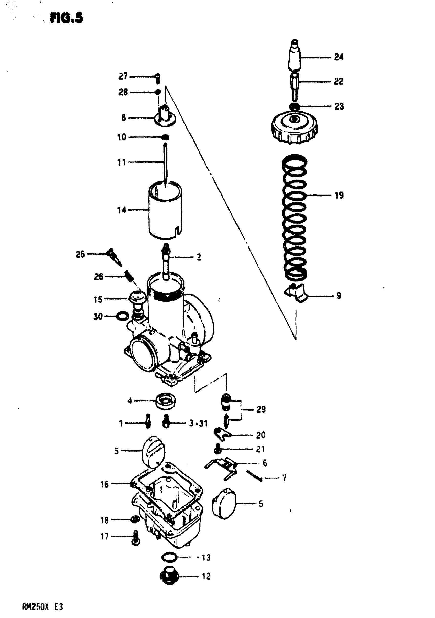
CARBURETOR
Suzuki RM250 (1981) CARBURETOR Diagram
#
Description
Price
0
CARBURETOR ASSY | Includes Item(s) 1 - 30
13200-14201
Unavailable
1
JET, PILOT (60)
09492-60004
Unavailable
2
JET, NEEDLE (R-9)
09494-00333
Unavailable
4
RING
13331-40600
Unavailable
6
ARM, FLOAT
13253-40200
Unavailable
8
HOLDER, JET NEEDLE
13581-40200
Unavailable
9
COVER, HOLDER
13629-40200
Unavailable
11
NEEDLE, JET (6FJ37-3)
13383-14200
Unavailable
12
PLUG, DRAIN
13247-40600
Unavailable
14
VALVE, THROTTIE (CA:2.0)
13551-14200
Unavailable
15
PLUNGER ASSY, STARTER
13410-14100
Unavailable
16
GASKET, FLOAT CHAMBER
13251-40230
Unavailable
19
SPRING, RETURN
13573-16601
Unavailable
25
SCREW, PILOT AIR (1 1/2)
13269-15010
Unavailable
29
VALVE, NEEDLE This part replaces 13370-40230.
13370-40600
Unavailable
