- Partiron
- OEM Parts
- Suzuki
- Motorcycle
- 1995
- RM125S (1995)
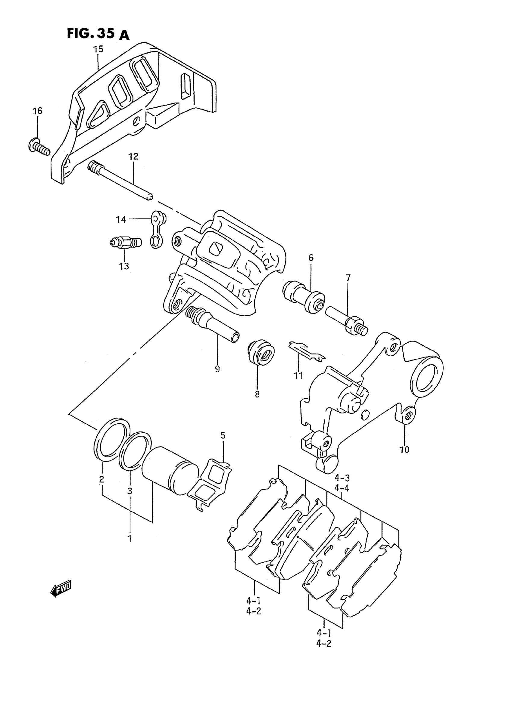
REAR CALIPER (MODEL P/R)
Suzuki RM125S (1995) REAR CALIPER (MODEL P/R) Diagram
#
Description
Price
NO DESCRIPTION AVAILABLE | MODEL P This part replaces 69100-43D10.
69100-43D10-999
Unavailable
NO DESCRIPTION AVAILABLE | MODEL R; Includes Item(s) 1 - 14 This part replaces 69100-43D20.
69100-43D10-999
Unavailable
3
SEAL, DUST
59108-17C00
Unavailable
4
PAD SET | MODEL P->69100-43841
69100-43840
Unavailable
4
PAD SET | MODEL P
69100-43841
Unavailable
10
BRACKET
69351-43D01
Unavailable
15
GUARD, CALIPER
69725-27C30
Unavailable
17
REFER TO FIG.35B(G-4) FOR
SPECIAL NOTE
Unavailable
