Partiron

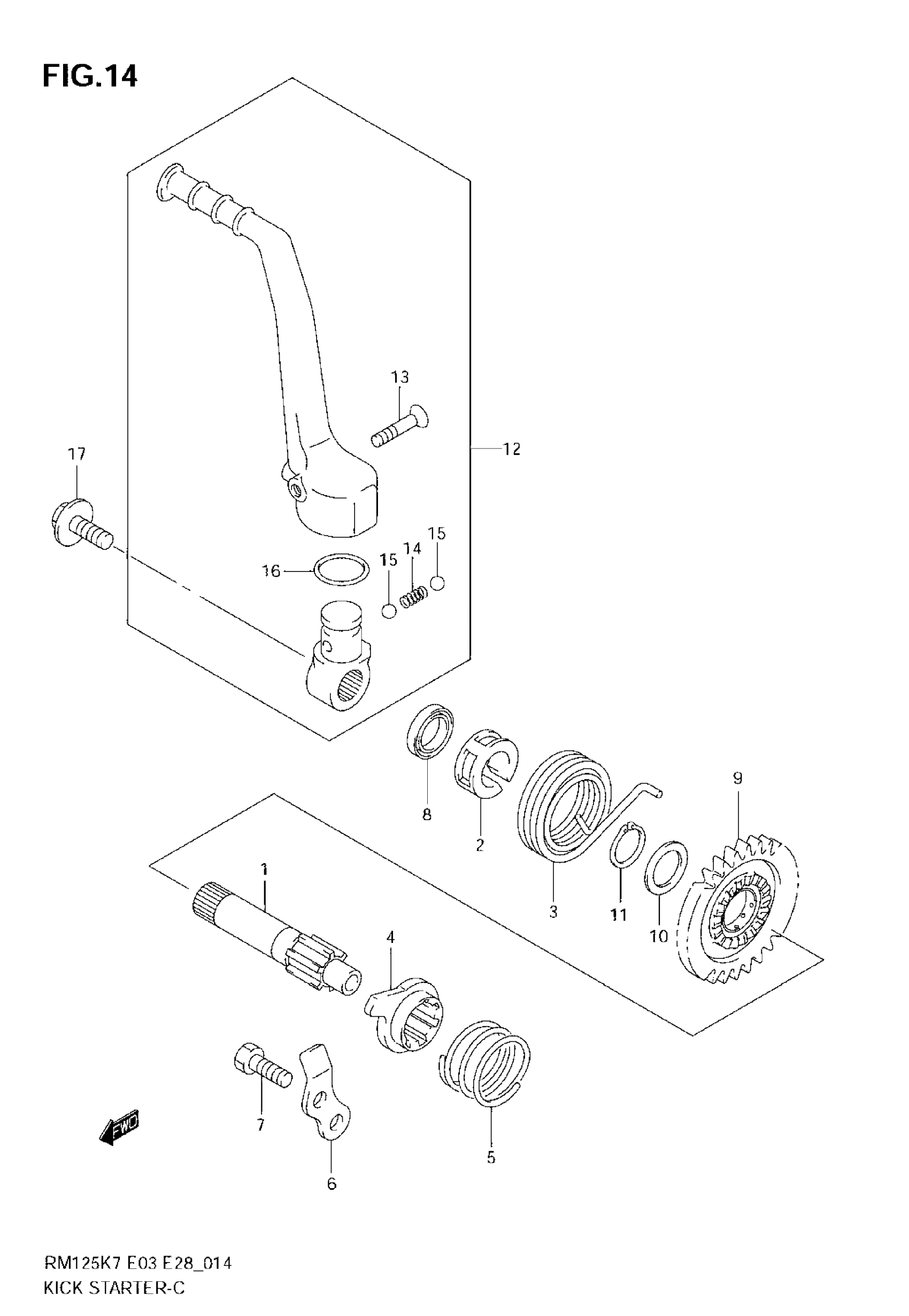
Suzuki RM125 (2008) KICK STARTER Diagram

#

Description
Price

1

SHAFT, KICK STARTER

26211-27C02

$113.25

2

GUIDE, SPRING

26221-27C00

$5.35

3

SPRING

09448-45013

$12.50

4

STARTER, KICK This part replaces 26231-02B01.

26231-02B02

$36.17

5

SPRING

09440-31002

$2.22

6

GUIDE, KICK STARTER

26232-40200

$7.08

7

BOLT

01500-0612B

$2.47

8

OIL SEAL (15.8X24X5)

09283-16004

$6.37

9

GEAR, KICK DRIVE (NT:27)

26241-43D01

$107.47

10

WASHER (16X24X0.50)

09181-16158

$2.71

11

CIRCLIP This part replaces 08331-31166.

08331-31169

$1.78

12

LEVER ASSY,KICK | Includes Item(s) 13 - 16 This part replaces 26300-36F01.

26300-36F02

$297.83

13

SCREW (6X27.5)

09127-06016

$2.96

14

SPRING

09440-05031

$1.49

15

BALL

06111-07004

$1.49

16

.O-RING This part replaces 26313-28E20.

26313-28E21

$2.17

17

BOLT (8X14)

09103-08253

$3.10