- Partiron
- OEM Parts
- Suzuki
- Motorcycle
- 2000
- RM125 (2000)
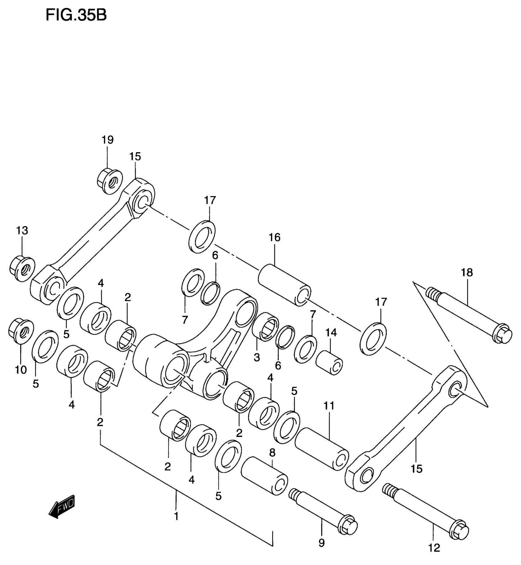
REAR CUSHION LEVER (MODEL Y)
Suzuki RM125 (2000) REAR CUSHION LEVER (MODEL Y) Diagram
#
Description
Price
1
LEVER SET, REAR CUSHION | Includes Item(s) 2 - 3
62600-37830
Unavailable
