- Partiron
- OEM Parts
- Suzuki
- Motorcycle
- 1995
- RM125 (1995)
FRONT DAMPER (MODEL P)
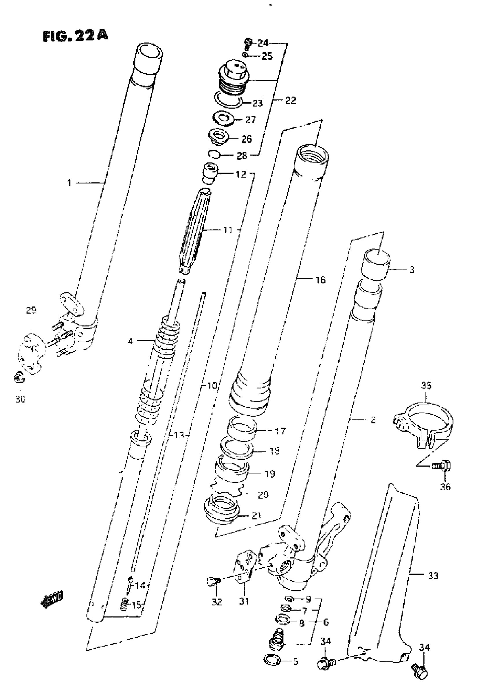
Suzuki RM125 (1995) FRONT DAMPER (MODEL P) Diagram
#
Description
Price
1
DAMPER ASSY, RH | SHOWA
51103-43D30
Unavailable
1
DAMPER ASSY, LH | SHOWA
51104-43D30
Unavailable
1
TUBE, INNER RH
51110-28E00
Unavailable
2
TUBE, INNER LH
51120-28E00
Unavailable
3
BUSH, SLIDE
51121-27C40
Unavailable
4
SPRING, MAIN
51171-43D20
Unavailable
5
RING, CENTER BOLT STOPPER
51133-43D00
Unavailable
6
BOLT ASSY, CENTER
51170-43D20
Unavailable
7
O RING, CENTER BOLT
51177-43D00
Unavailable
8
GASKET
51148-43D00
Unavailable
10
DAMPER, FRONT
51190-43D20
Unavailable
11
GUIDE, PUSH ROD SPRING
51172-28E00
Unavailable
12
NUT, ROD
51129-43D00
Unavailable
13
ROD, PUSH
51191-28E00
Unavailable
14
NEEDLE
51192-43D00
Unavailable
16
TUBE, OUTER
51130-28E00
Unavailable
17
BUSH, GUIDE
51167-28E00
Unavailable
21
SEAL, DUST
51173-43D60
Unavailable
22
BOLT ASSY, FORK
51351-28E00
Unavailable
26
SEAT, SPRING
51175-28E00
Unavailable
27
WASHER, THRUST
51176-28E00
Unavailable
28
RING, STOPPER
51133-28E00
Unavailable
29
HOLDER, AXLE RH
51132-27C40
Unavailable
31
GUIDE, HOSE LH
59248-27C40
Unavailable
33
PROTECTOR, LH This part replaces 51511-43D00.
51511-29E00
Unavailable
35
GUIDE, FORK PROTECTOR
51210-43D00
Unavailable
