- Partiron
- OEM Parts
- Suzuki
- Motorcycle
- 1995
- RM125 (1995)
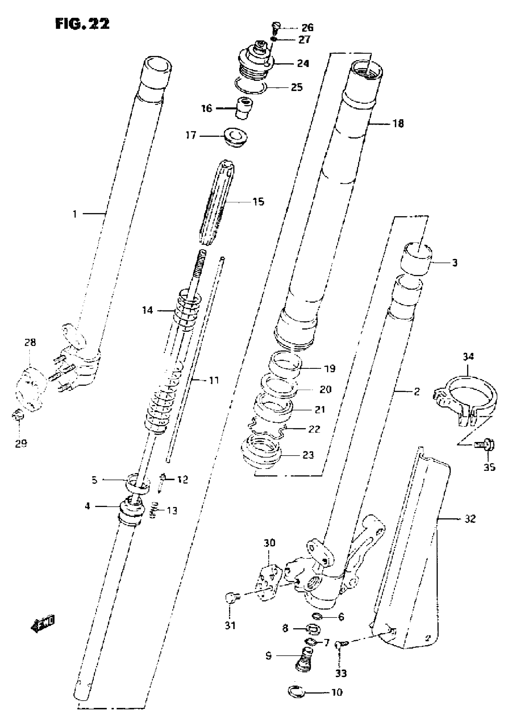
FRONT DAMPER (MODEL N)
Suzuki RM125 (1995) FRONT DAMPER (MODEL N) Diagram
#
Description
Price
1
DAMPER ASSY, R
51103-43D10
Unavailable
1
DAMPER ASSY, L
51104-43D10
Unavailable
1
TUBE, INNER RH
51110-43D00
Unavailable
2
TUBE, INNER LH
51120-43D00
Unavailable
3
BUSH, SLIDE
51121-27C40
Unavailable
4
DAMPER
51190-43D00
Unavailable
5
RING, PISTON
51176-43D00
Unavailable
7
O RING, CENTER BOLT
51177-43D00
Unavailable
8
GASKET, CENTER BOLT
51148-43D00
Unavailable
9
BOLT, CENTER
51170-43D00
Unavailable
10
RING, STOPPER
51133-43D00
Unavailable
11
R0D, PUSH
51191-43D00
Unavailable
12
NEEDLE
51192-43D00
Unavailable
14
SPRING, MAIN
51171-43D00
Unavailable
15
GUIDE, SPRING
51172-43D00
Unavailable
16
NUT, ROD
51129-43D00
Unavailable
17
SEAT, SPRING UPPER
51175-43D00
Unavailable
18
TUBE, OUTER
51130-43D00
Unavailable
19
BUSH, GUIDE
51167-27C40
Unavailable
24
BOLT, FORK
51351-43D00
Unavailable
28
HOLDER, AXLE RH
51132-27C40
Unavailable
30
GUIDE, HOSE LH
59248-27C40
Unavailable
32
PROTECTOR, LH This part replaces 51511-43D00.
51511-29E00
Unavailable
34
GUIDE, FORK PROTECTOR
51210-43D00
Unavailable
