- Partiron
- OEM Parts
- Suzuki
- Motorcycle
- 1980
- RM125 (1980)
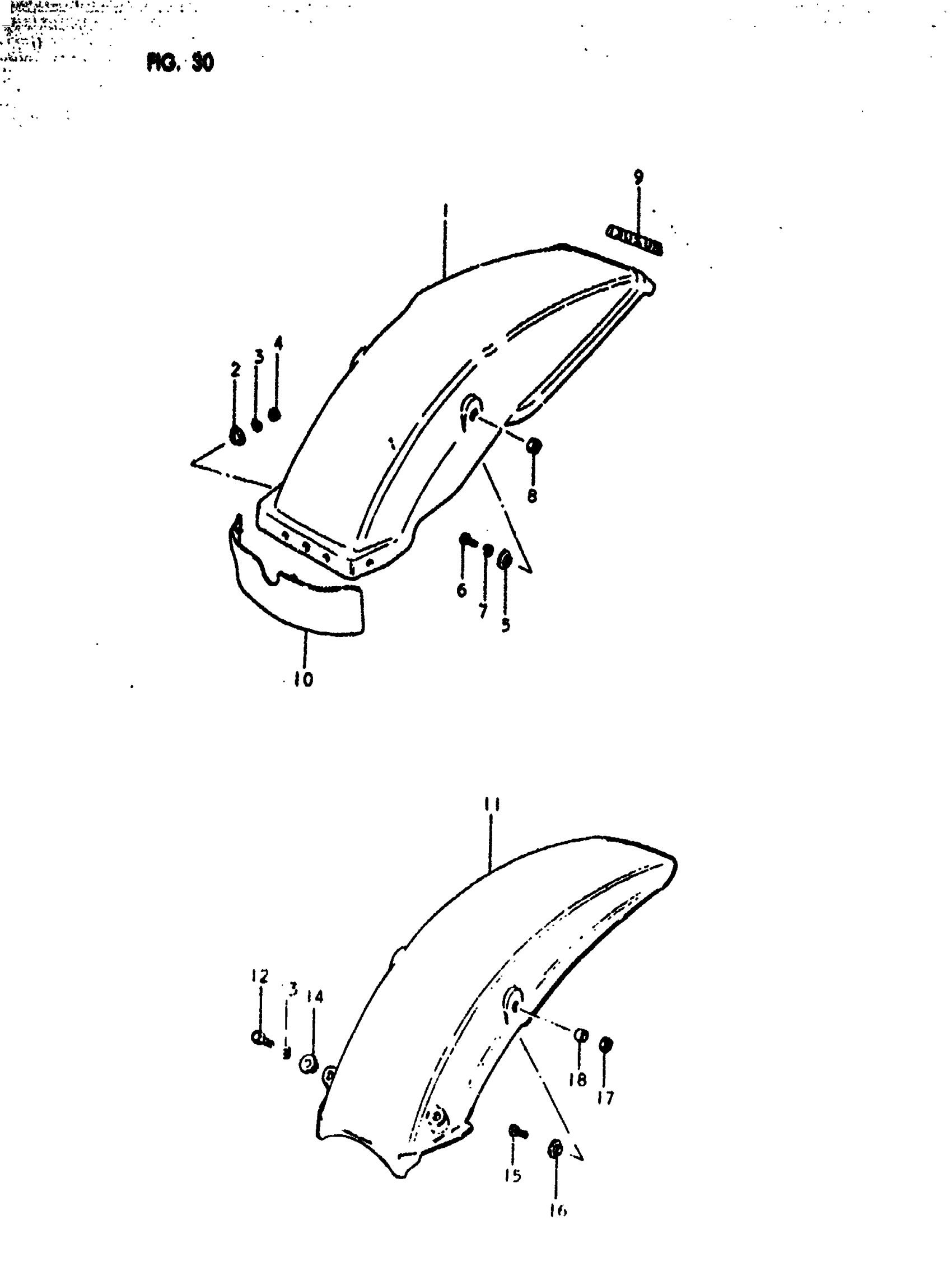
REAR FENDER
Suzuki RM125 (1980) REAR FENDER Diagram
#
Description
Price
1
FENDER, REAR (YELLOW) | N
63111-40200-163
Unavailable
9
EMBLEM | N
68151-40400
Unavailable
10
MUD GUARD | N
63411-40200
Unavailable
11
FENDER, REAR (YELLOW) | T This part replaces 63111-40210-163.
63111-40213-163
Unavailable
