- Partiron
- OEM Parts
- Suzuki
- Motorcycle
- 1980
- RM125 (1980)
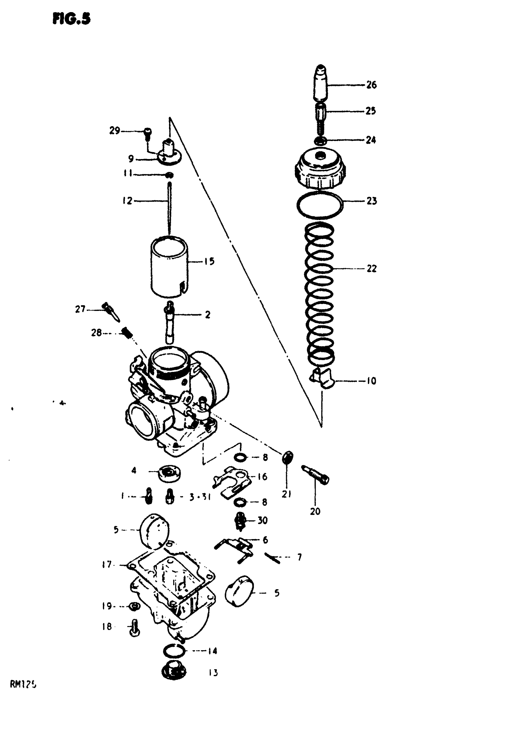
CARBURETOR
Suzuki RM125 (1980) CARBURETOR Diagram
#
Description
Price
0
CARBURETOR ASSY | N
13200-40200
Unavailable
0
CARBURETOR ASSY | T; Includes Item(s) 1 - 30
13200-40221
Unavailable
2
JET, NEEDLE (S-O) | N,T
09494-00249
Unavailable
3
JET, MAIN (250) | N,T This part replaces 09491-50003.
09491-50008
Unavailable
4
RING | N,T
13331-40200
Unavailable
6
ARM, FLOAT | N,T
13253-40200
Unavailable
9
HOLDER, JET NEEDLE | N,T
13581-40200
Unavailable
10
COVER, HOLDER | N,T
13629-40200
Unavailable
12
NEEDLE,JET | N This part replaces 13383-97510.
13383-41510
Unavailable
12
NEEDLE,JET | T This part replaces 13383-41500.
13383-41510
Unavailable
13
PLUG, DRAIN | N,T
13247-40200
Unavailable
15
VALVE, THROTTLE (CA:2.5) | N,T
13551-40200
Unavailable
16
PLATE, FLOAT CHAMBER | N,T
13259-40200
Unavailable
17
GASKET, FLOAT CHAMBER | N,T
13251-30110
Unavailable
22
SPRING, RETURN | N,T
13573-41610
Unavailable
23
O RING | N,T
13266-40200
Unavailable
27
SCREW, PILOT AIR | N,T
13269-15010
Unavailable
30
VALVE, NEEDLE | N,T
13370-16600
Unavailable
31
JET. MAIN (240) | N,T; OPT This part replaces 09491-48001.
09491-48003
Unavailable
31
JET, MAIN (270) | N,T; OPT This part replaces 09491-54001.
09491-54002
Unavailable
