Partiron

Suzuki RM-Z450L7 (2017) AIR CLEANER Diagram

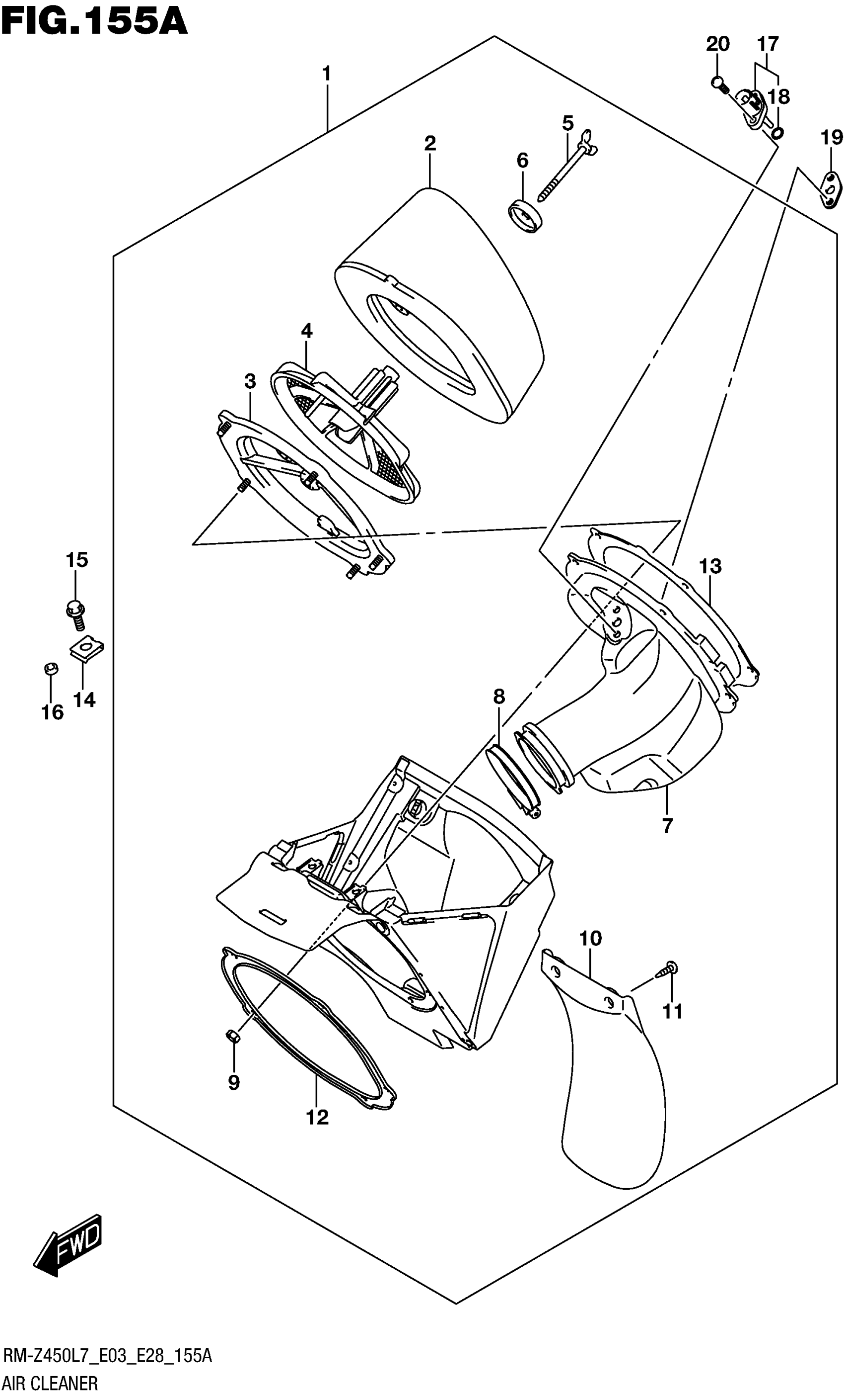
#

Description
Price

1

CLEANER ASSY,AI This part replaces 13700-28H30.

13700-28H31

$403.67

2

.FILTER ASSY

13780-10H00

$95.28

3

.BASE, FILTER

13790-37F20

$22.22

4

.HOLDER, FILTER

13791-35G00

$15.16

5

.BOLT,WING

13831-37F20

$8.07

6

.WASHER

13792-13A01

$4.34

7

TUBE,OUTLET This part replaces 13881-28H10.

13881-28H11

$66.88

8

.CLAMP

13826-28H10

$7.72

9

.NUT

08319-2105B

$3.08

10

.MUD GUARD

13738-36E10

$26.25

11

.SCREW

13831-35F00

$2.38

12

.PLATE

13795-37F20

$17.70

13

.GASKET

13796-37F20

$13.73

14

.NUT

09148-06017

$3.20

15

BOLT

01547-0612A

$2.03

16

.SPACER (6.2X10X2.2)

09180-06129

$2.12

17

SENSOR, AIR TEMP

13650-14G10

$52.06

18

.O RING

13655-14G10

$9.90

19

BRACKET, SENSOR

13652-28H00

$12.40

20

.SCREW

02112-0516A

$1.49