- Partiron
- OEM Parts
- Suzuki
- Motorcycle
- 2009
- RM-Z450 (2009)
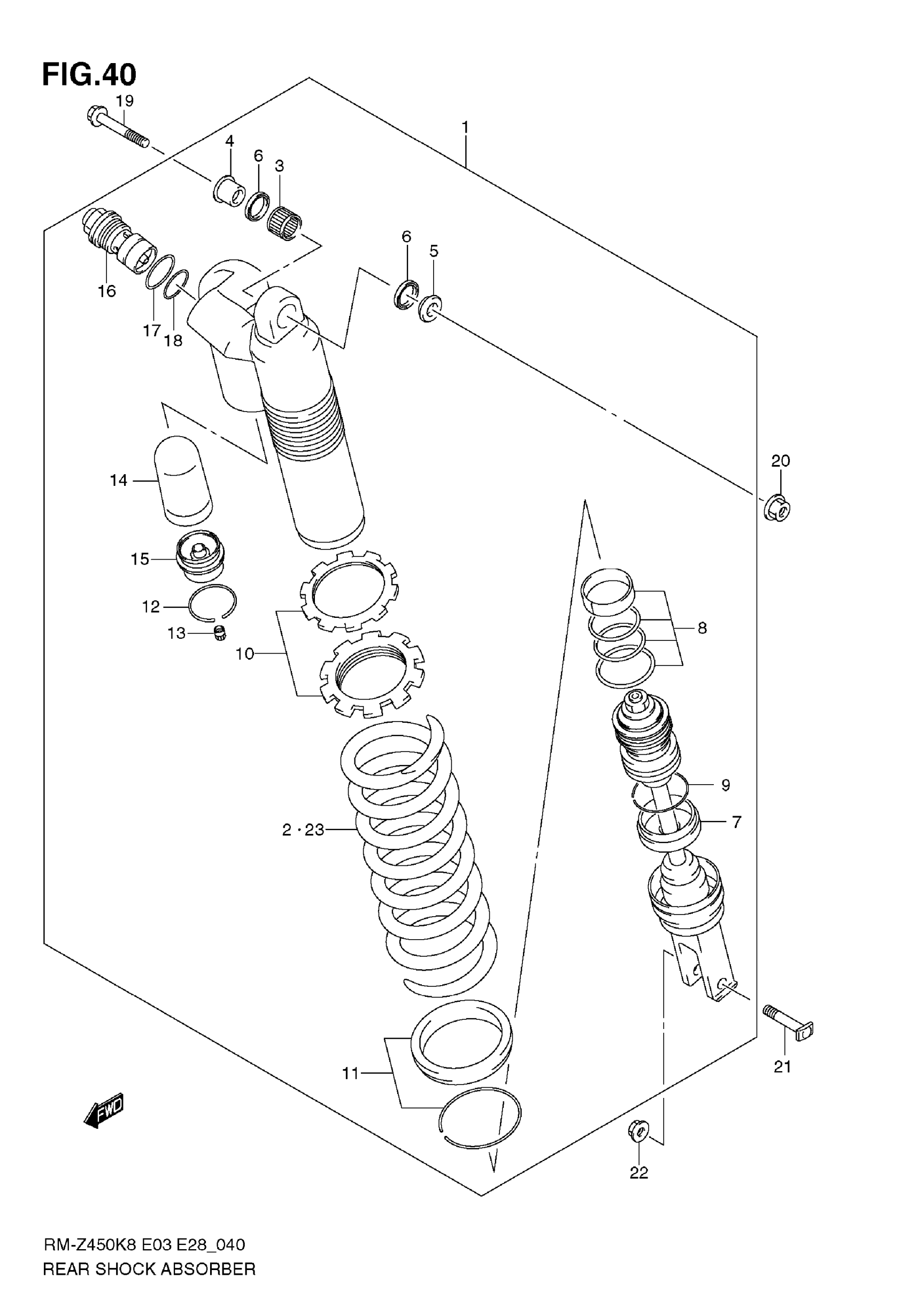
REAR SHOCK ABSORBER
Suzuki RM-Z450 (2009) REAR SHOCK ABSORBER Diagram
#
Description
Price
1
ABSORBER ASSY, RR SHOCK (RED) | E3
62100-28H20-YKS
Unavailable
1
ABSORBER ASSY, RR SHOCK (RED) | E28; Includes Item(s) 2 - 18
62100-28H10-YKS
Unavailable
2
SPRING (K=5.6)
62211-37FM0
Unavailable
7
ROD, PISTON
62120-28H00
Unavailable
13
..CAP,AIR VALVE
52194-46686
Unavailable
15
CAP, CHAMBER
62275-10H30
Unavailable
16
BOLT, PLUG
62130-10H30
Unavailable
23
SPRING (K=5.2) | OPT SOFT
62211-10H10
Unavailable
23
SPRING (K=5.4) | OPT SOFT
62211-10H00
Unavailable
23
SPRING (K=5.8) | OPT HARD
62211-28H00
Unavailable
23
SPRING (K=5.9) | OPT HARD
62211-35G40
Unavailable
