- Partiron
- OEM Parts
- Suzuki
- Motorcycle
- 2009
- RM-Z450 (2009)
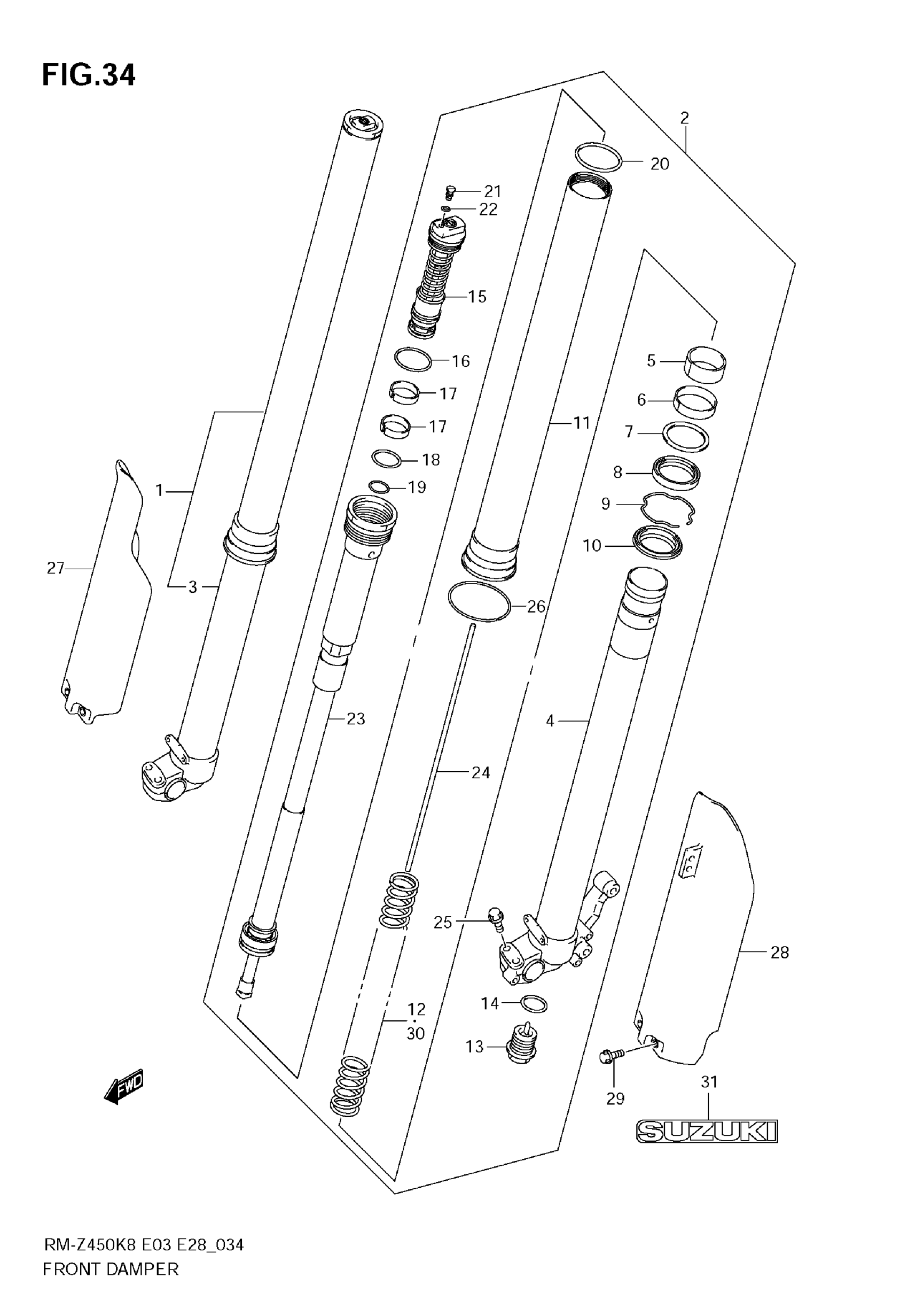
FRONT DAMPER
Suzuki RM-Z450 (2009) FRONT DAMPER Diagram
#
Description
Price
1
DAMPER ASSY, FRONT FORK RH
51103-28H00
Unavailable
2
DAMPER ASSY, FRONT FORK LH | Includes Item(s) 3 - 26
51104-28H00
Unavailable
3
TUBE, INNER RH
51110-35G30
Unavailable
4
TUBE, INNER LH
51120-35G30
Unavailable
11
TUBE, OUTER
51130-28H00
Unavailable
12
SPRING, FRONT (K=0.47)
51171-28H00
Unavailable
15
BOLT, FORK
51351-28H00
Unavailable
17
BUSH, FORK BOLT SLIDE
51123-10H10
Unavailable
23
ROD, DAMPER
51190-28H00
Unavailable
30
SPRING, FRONT (K=0.49) | OPT HARD
51171-28H20
Unavailable
