Partiron

Suzuki RM-Z250L5 (2015) STEERING STEM Diagram

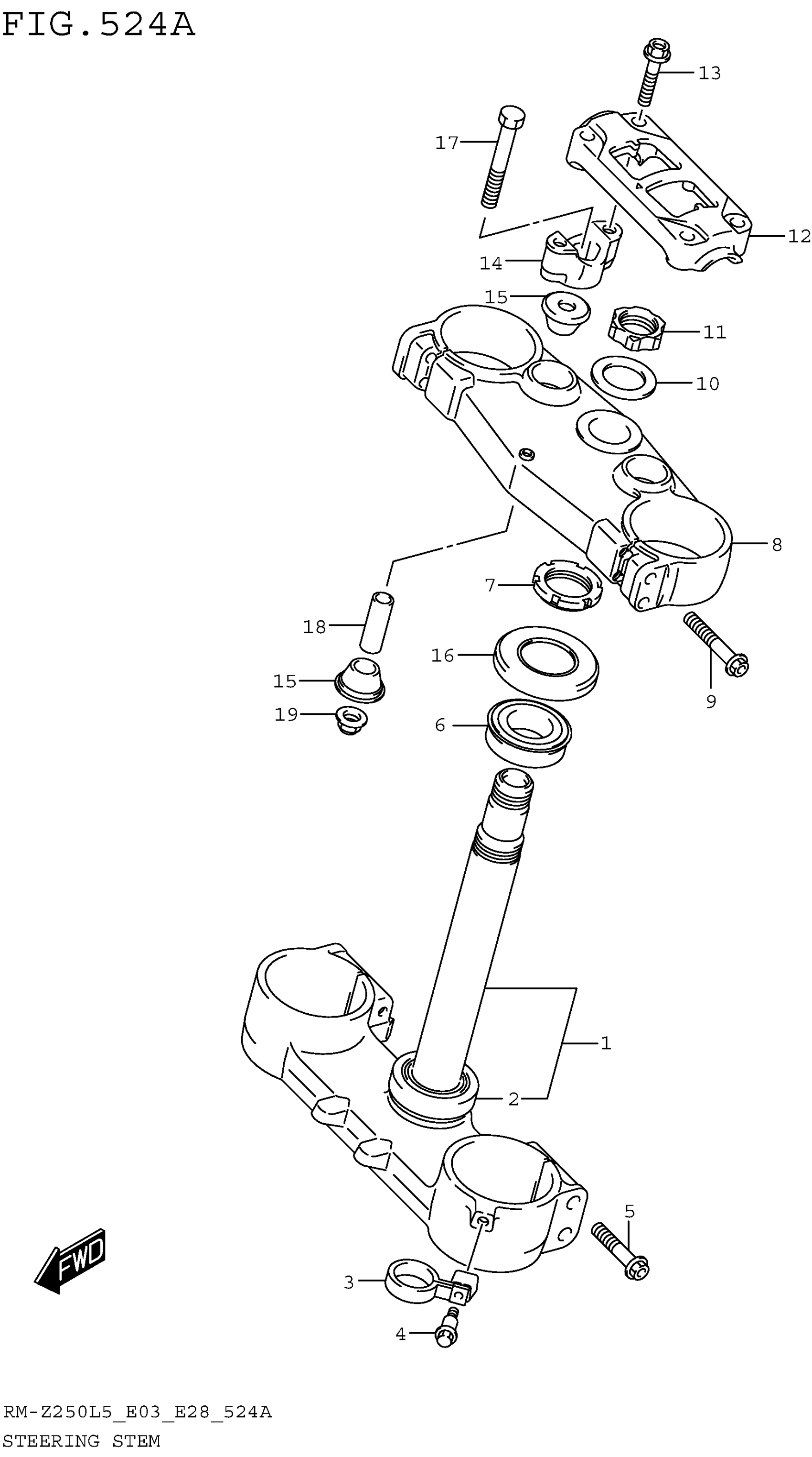
#

Description
Price

1

STEM,STEERING This part replaces 51410-49H20.

51410-49H21

$386.12

2

.BEARING (30X52X16) This part replaces 09265-30014.

09265-30035

$46.72

3

GUIDE, FR BRAKE HOSE

58621-37F90

$11.50

4

BOLT (6X20.5)

09111-06087

$2.71

5

BOLT

51328-37F80

$7.25

6

.BEARING (30X52X16) This part replaces 09265-30014.

09265-30035

$46.72

7

NUT, STEERING

51631-28H00

$29.03

8

HEAD, STEERING STEM

51311-10H20

$307.35

9

BOLT

51328-37F80

$7.25

10

WASHER,STEM HEAD

51356-29E00

$15.29

11

NUT,STEM HEAD

51353-37F70

$40.35

12

HOLDER,HANDLE

56211-10H10

$85.28

13

BOLT

51321-37F90

$6.19

14

HOLDER, HANDLE LOWER

56221-10H11

$122.58

15

CUSHION,RUBBER

56241-10H11

$43.88

16

COVER, STEERING UPPER

51643-28H10

$10.40

17

BOLT,HANDLE HOLDER

56321-28H00

$13.07

18

SPACER

56243-10H11

$11.85

19

NUT This part replaces 08319-31108.

08319-31107

$2.73