- Partiron
- OEM Parts
- Suzuki
- Motorcycle
- 2011
- RM-Z250L1 (2011)
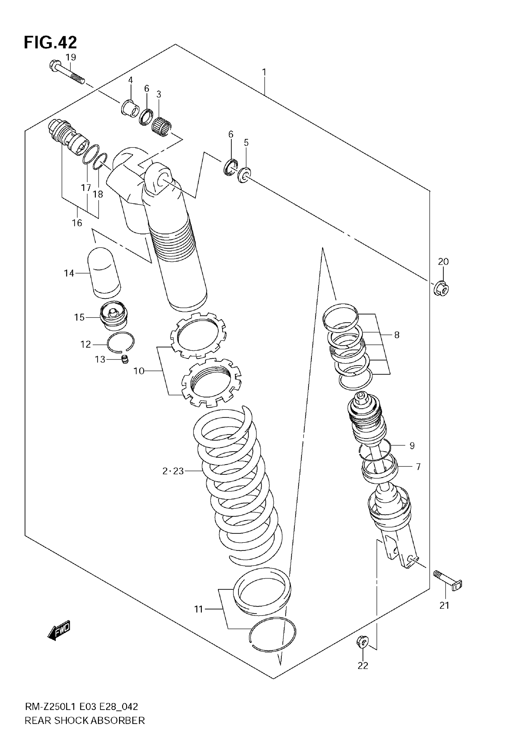
REAR SHOCK ABSORBER (RM-Z250 L1 E3)
Suzuki RM-Z250L1 (2011) REAR SHOCK ABSORBER (RM-Z250 L1 E3) Diagram
#
Description
Price
1
ABSORBER ASSY, RR SHOCK (RED)
62100-49H50-YKS
Unavailable
2
SPRING (K=55.9)
62211-35G30
Unavailable
7
ROD, PISTON
62120-49H30
Unavailable
13
..CAP,AIR VALVE
52194-46686
Unavailable
15
CAP, CHAMBER
62275-28H30
Unavailable
23
SPRING (SOFT K=52) | OPT
62211-37FK0
Unavailable
23
SPRING (SOFT K=53.9) | OPT
62211-37FL0
Unavailable
23
SPRING (HARD K=57.9) | OPT
62211-35G40
Unavailable
