- Partiron
- OEM Parts
- Suzuki
- Motorcycle
- 2010
- RM-Z250L0 (2010)
REAR SWINGING ARM
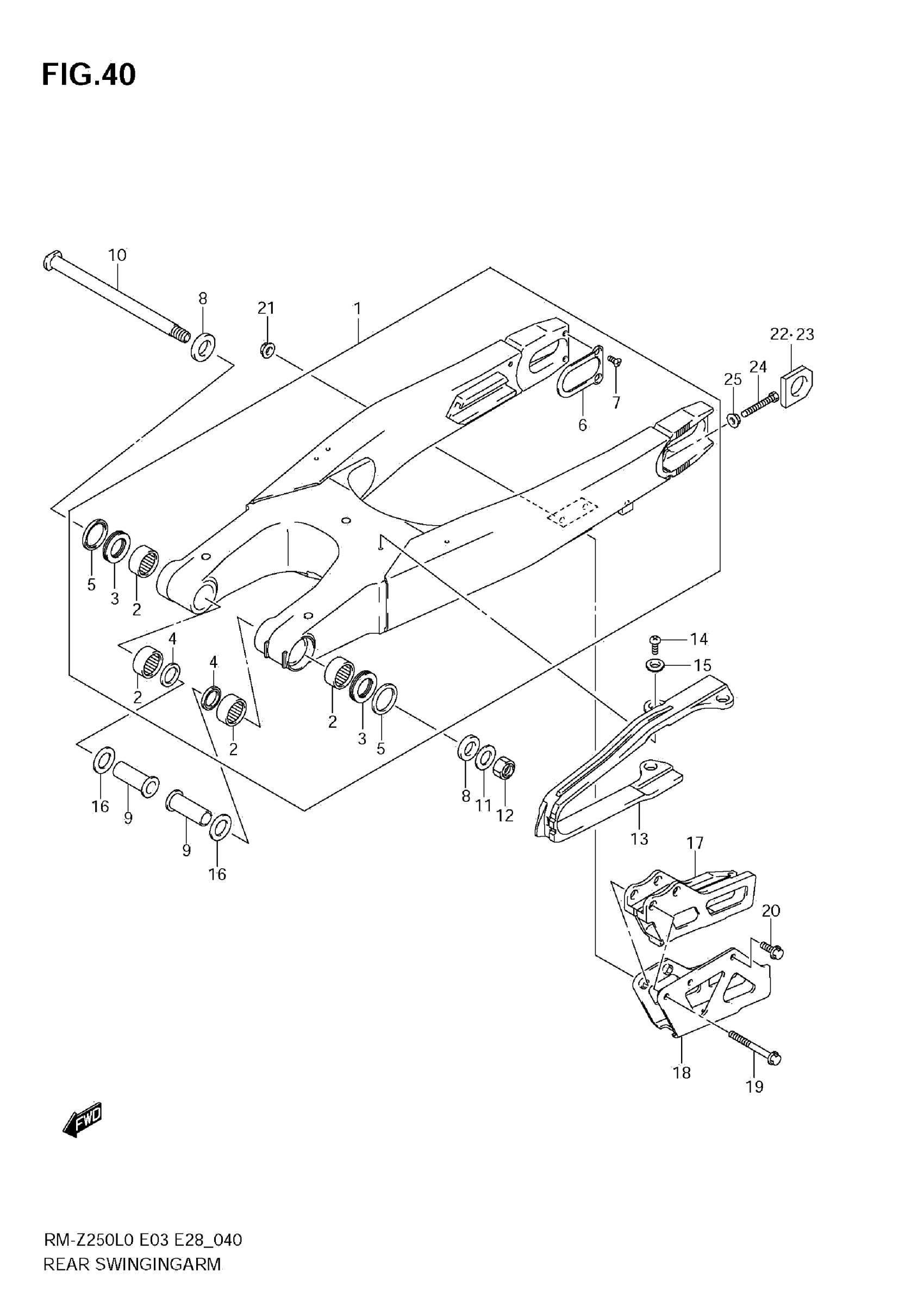
Suzuki RM-Z250L0 (2010) REAR SWINGING ARM Diagram
#
Description
Price
1
SWINGING ARM ASSY, REAR
61000-49H00
Unavailable
6
PLATE, SWINGINGARM, REAR
61128-35G00
Unavailable
