Partiron

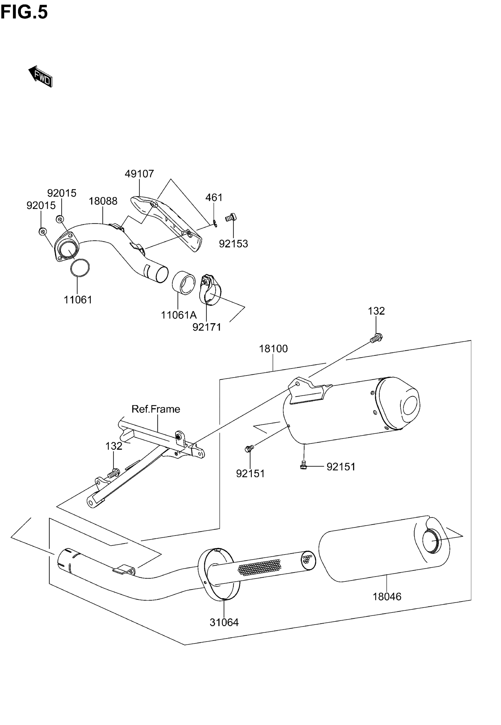
Suzuki RM-Z250 (2005) MUFFLER Diagram

#

Description
Price

11061

GASKET

K1106-10027

$5.33

11061A

GASKET

K1106-10101

$27.37

18046

WOOL

K1804-60042

Unavailable

18088

PIPE-EXHAUST

K1808-80106

Unavailable

18100

BODY-ASSY-MUFFLER

K1810-00011

Unavailable

31064

PIPE-COMP

K3106-40029

Unavailable

49107

COVER-EXHAUST PIPE

K4910-70013

$48.30

92015

NUT,8MM

K9201-51402

$4.00

92151

BOLT,6X10

K9215-11822

Unavailable

92153

BOLT,6X8

K9215-30578

$1.78

92171

CLAMP

K9217-10304

Unavailable

132

BOLT-FLANGED-SM This part replaces KK132-L0818.

K132B-B0818

Unavailable

461

WASHER-SPRING,6MM

KK461-S0600

$1.49