Partiron

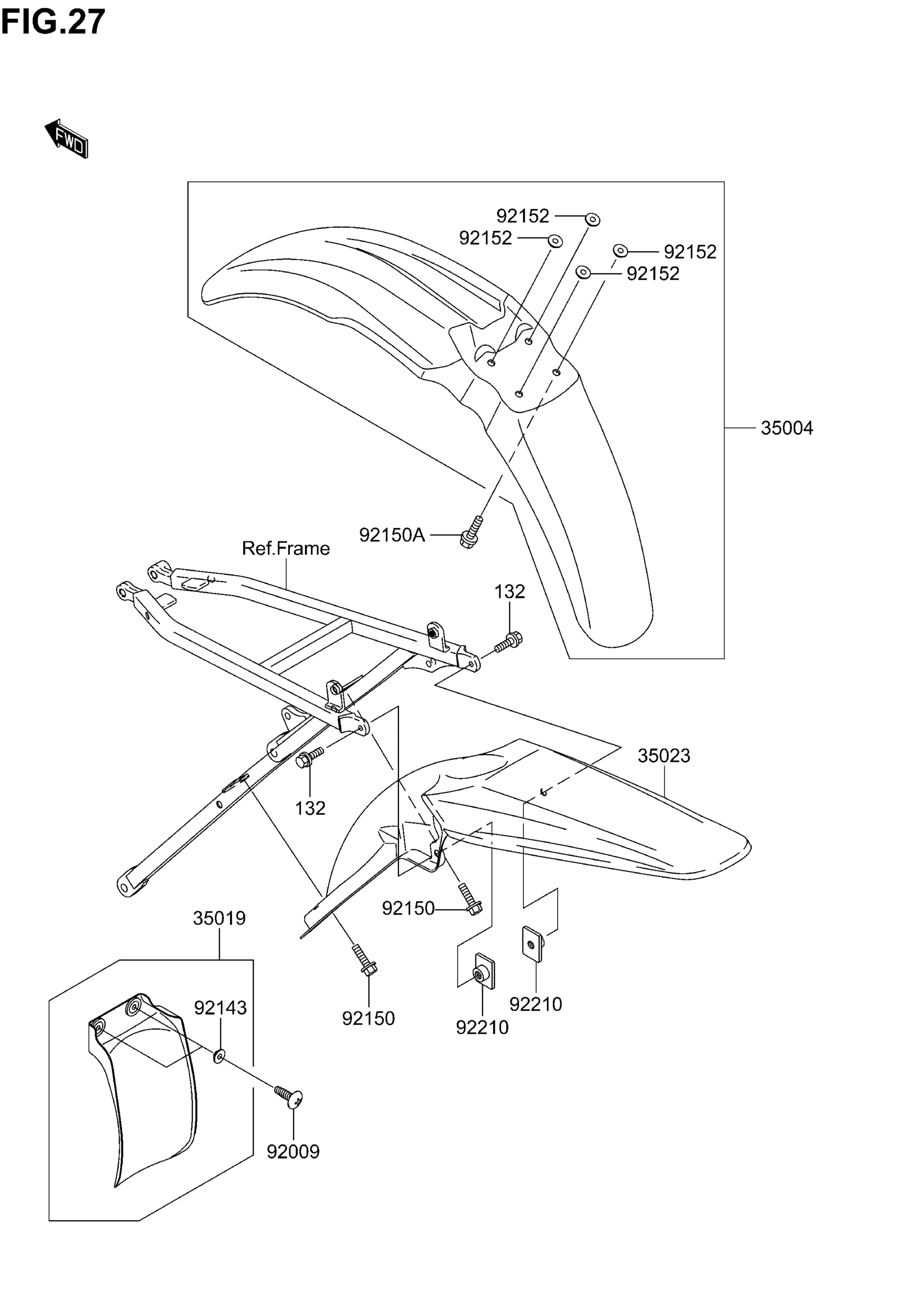
Suzuki RM-Z250 (2005) FENDER Diagram

#

Description
Price

35004

NO DESCRIPTION AVAILABLE This part replaces K3500-41460-267.

K3500-40078-267

Unavailable

35019

FLAP,AIR FILTER

K3501-90005

$33.80

35023

FENDER-REAR,C.YELLOW

K3502-30020-267

Unavailable

92009

SCREW,TAPPING,5X20

K9200-91993

Unavailable

92143

COLLAR

K9214-31087

Unavailable

92150

BOLT,FLANGED,6X22

K9215-01481

Unavailable

92150A

BOLT,6X20

K9215-01892

$3.08

92152

COLLAR

K9215-21422

Unavailable

92210

NUT,PLATE,6MM

K9221-01352

$1.78

132

BOLT-FLANGED-SM This part replaces KK132-G0614.

K132B-A0614

$1.25