- Partiron
- OEM Parts
- Suzuki
- Motorcycle
- 2004
- RM-Z250 (2004)
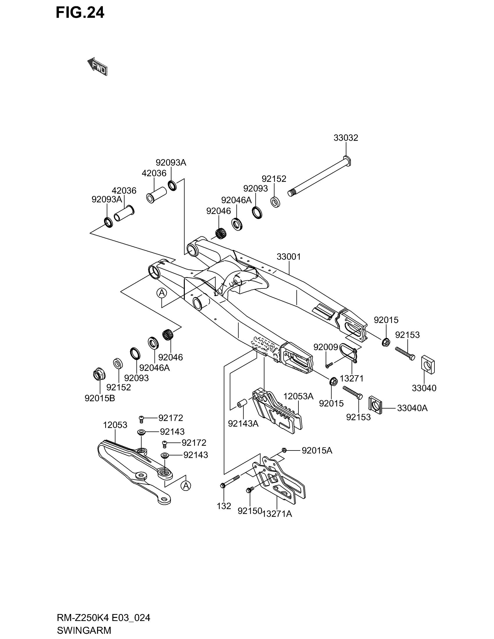
SWINGARM
Suzuki RM-Z250 (2004) SWINGARM Diagram
#
Description
Price
12053
GUIDE-CHAIN,DRIVE,FR
K1205-30019
Unavailable
13271
PLATE,AXLE
K1327-11833
Unavailable
13271A
PLATE,CHAIN GUIDE
K1327-11834
Unavailable
33001
ARM-COMP-SWING,SILVER
KK330-01000-2CE
Unavailable
33032
SHAFT-SWING ARM
K3303-21189
Unavailable
42036
SLEEVE,SWING ARM,L=46
K4203-60003
Unavailable
92009
SCREW,5X10
K9200-91828
Unavailable
92015B
NUT,FLANGED,16MM
K9201-51316
Unavailable
92046
BEARING-NEEDLE,TA2230Z
K9204-61174
Unavailable
92046A
BEARING-NEEDLE,NTBR22356E01
K9204-61240
Unavailable
