- Partiron
- OEM Parts
- Suzuki
- Motorcycle
- 2009
- RM-85 (2009)
REAR MASTER CYLINDER
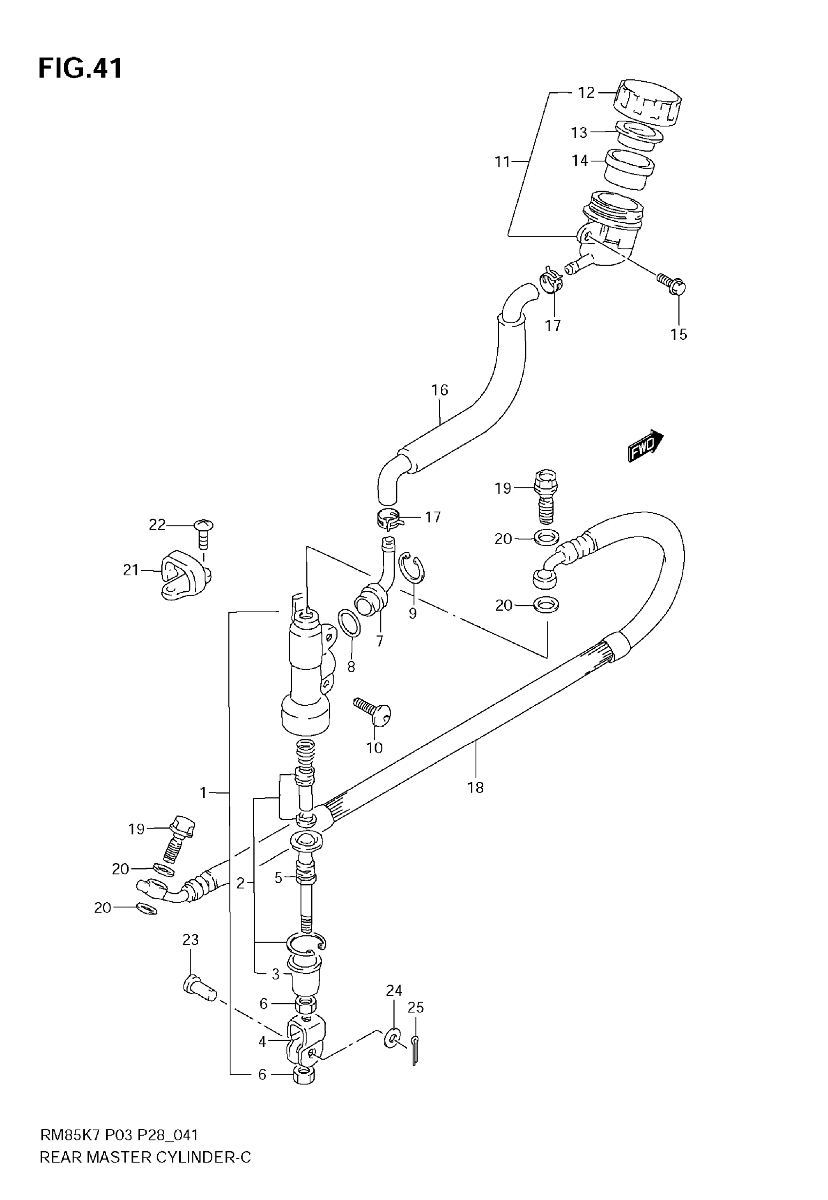
Suzuki RM-85 (2009) REAR MASTER CYLINDER Diagram
#
Description
Price
1
CYLINDER ASSY, REAR MASTER | Includes Item(s) 2 - 9
69600-03B00
Unavailable
