- Partiron
- OEM Parts
- Yamaha
- motorcycle
- 1973
- RD60 (RD60) 1973
FLYWHEEL MAGNETO (HITACHI)
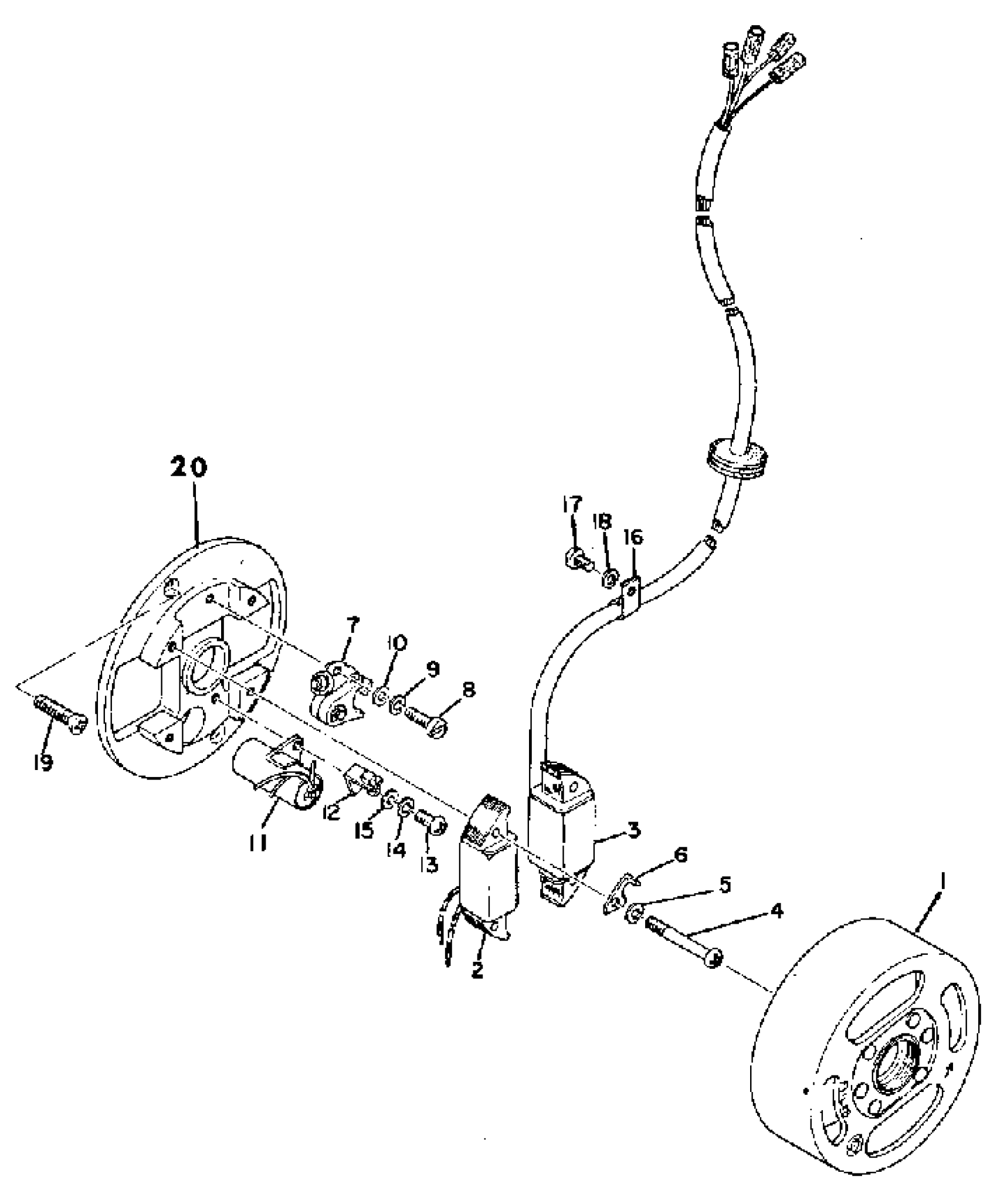
Yamaha RD60 (RD60) 1973 FLYWHEEL MAGNETO (HITACHI) Diagram
#
Description
Price
1
ROTOR ASSEMBLY
(2A3-81350-11-00)
Unavailable
1
FLYWHL MAGNETO ASSEMBLY
(368-81300-11-00)
Unavailable
2
. COIL, IGNITION 1
368-81311-10-00
Unavailable
3
COIL, LIGHTING 1
(368-81313-10-00)
Unavailable
4
SCREW, PAN HEAD
98517-04025-00
Unavailable
6
PLATE, TIMING
(296-81332-10-00)
Unavailable
7
. CONTACT BREAKER ASSY
207-81321-90-00
Unavailable
11
. CONDENSER 2
207-81326-90-00
Unavailable
12
. LUBRICATOR
207-81331-10-00
Unavailable
16
. CLAMP
109-81328-11-00
Unavailable
17
SCREW, PAN HEAD (713)
98580-04008-00
Unavailable
19
SCREW, FLAT
98707-05016-00
Unavailable
20
BASE, MAGNETO
(368-81309-10-00)
Unavailable
