- Partiron
- OEM Parts
- Yamaha
- motorcycle
- 1978
- RD400E (RD400) 1978
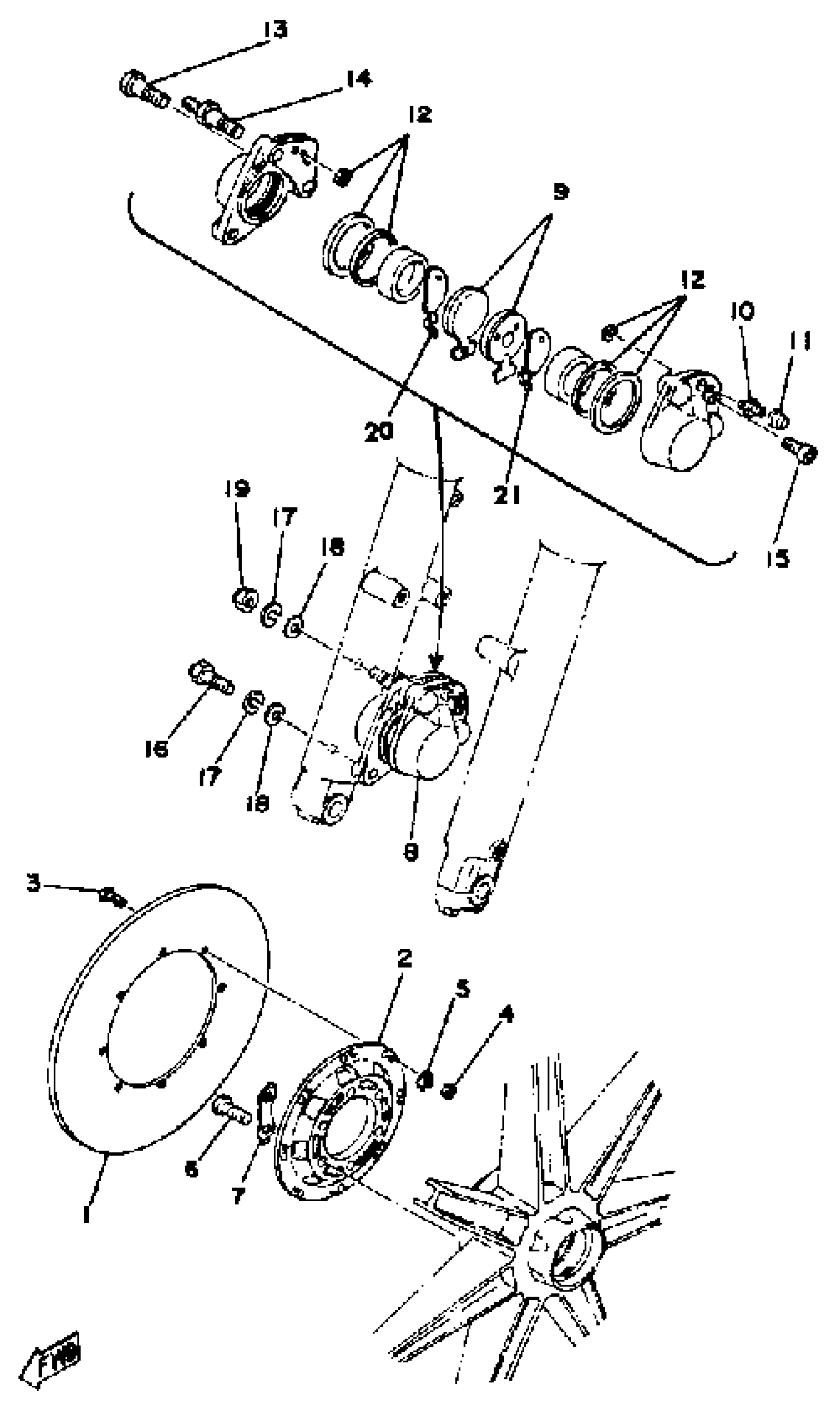
FRONT DISC BRAKE CALIPER
Yamaha RD400E (RD400) 1978 FRONT DISC BRAKE CALIPER Diagram
#
Description
Price
1
INACTIVE PART NUMBER
351-25831-01-00
Unavailable
2
INACTIVE PART NUMBER
351-25832-00-00
Unavailable
4
NUT, HEXAGON
95380-06600-00
Unavailable
5
WASHER LOCK 306258340000
90215-06106-00
Unavailable
6
INACTIVE PART NUMBER
90101-08352-00
Unavailable
8
INACTIVE PART NUMBER
1A2-25810-10-00
Unavailable
9
. BRAKE PAD KIT, FRNT
1A1-W0045-00-00
Unavailable
10
. SCREW, BLEED
306-25824-00-00
Unavailable
13
. BOLT 1
306-25821-01-00
Unavailable
14
. BOLT 2
306-25822-01-00
Unavailable
15
. BOLT 3
306-25826-01-00
Unavailable
16
UNAVAILABLE IN PRICE BOOK (306-25818-00)
90106-10041-00
Unavailable
17
YBS67-10 WASHER, SPRING
92990-10100-00
Unavailable
18
WASHER, PLATE
92990-10600-00
Unavailable
19
NUT, CROWN(3BM)
90176-10073-00
Unavailable
20
. SHIM, CALIPER
409-25827-50-00
Unavailable
21
. SHIM, CALIPER (306-25828-02)
409-25828-50-00
Unavailable
