- Partiron
- OEM Parts
- Yamaha
- motorcycle
- 1976
- RD125C (RD125) 1976
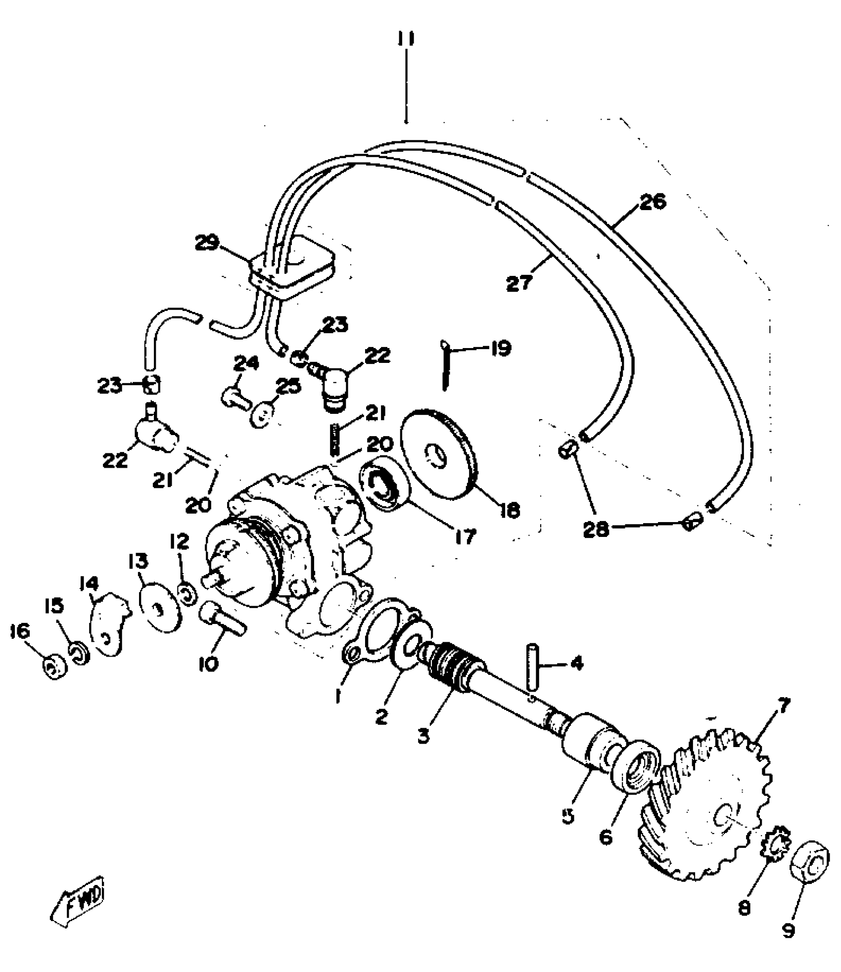
OIL PUMP
Yamaha RD125C (RD125) 1976 OIL PUMP Diagram
#
2
WASHER, PLATE (1E7)
90201-08624-00
Unavailable
3
SHAFT, WORM
(174-13175-00-00)
Unavailable
5
METAL, WORM SHAFT OUTER
137-13176-00-00
Unavailable
7
GEAR, PUMP DRIVE
(132-13178-01-00)
Unavailable
8
WASHER (688)
92990-08400-00
Unavailable
9
. NUT
95380-08700-00
Unavailable
10
SCREW, PAN HEAD(6B0)
97885-05016-00
Unavailable
11
OIL PUMP ASSEMBLY
(416-13101-00-00)
Unavailable
12
SHIM, PLUNGER
(137-13137-00-30)
Unavailable
12
. SHIM, PLUNGER
137-13137-00-50
Unavailable
13
PLATE, ADJUSTING
137-13138-01-00
Unavailable
14
COVER, AJST PULLEY
(402-13146-00-00)
Unavailable
15
YBS67-5 WASHER, SPRING
92990-05100-00
Unavailable
16
NUT, HEXAGON (663)
95380-05600-00
Unavailable
17
OIL SEAL (J10)
93101-10090-00
Unavailable
18
PLATE, STARTER
(137-13128-00-00)
Unavailable
19
. PIN, COTTER
91401-12018-00
Unavailable
20
BALL
93505-32002-00
Unavailable
21
SPRING (278-13169-00)
90501-02018-00
Unavailable
22
NOZZLE
353-13552-01-00
Unavailable
23
CLIP (214-13164-00)
90468-02033-00
Unavailable
24
SCREW, BIND
98980-04008-00
Unavailable
25
GASKET 137131870000
90430-04004-00
Unavailable
26
HOSE (L700)
90445-05M07-00
Unavailable
27
HOSE (L700)
90445-05M07-00
Unavailable
28
CLIP (214-13164-00)
90468-02033-00
Unavailable
29
HOLDER, OIL PIPE
(293-13174-00-00)
Unavailable
