Partiron

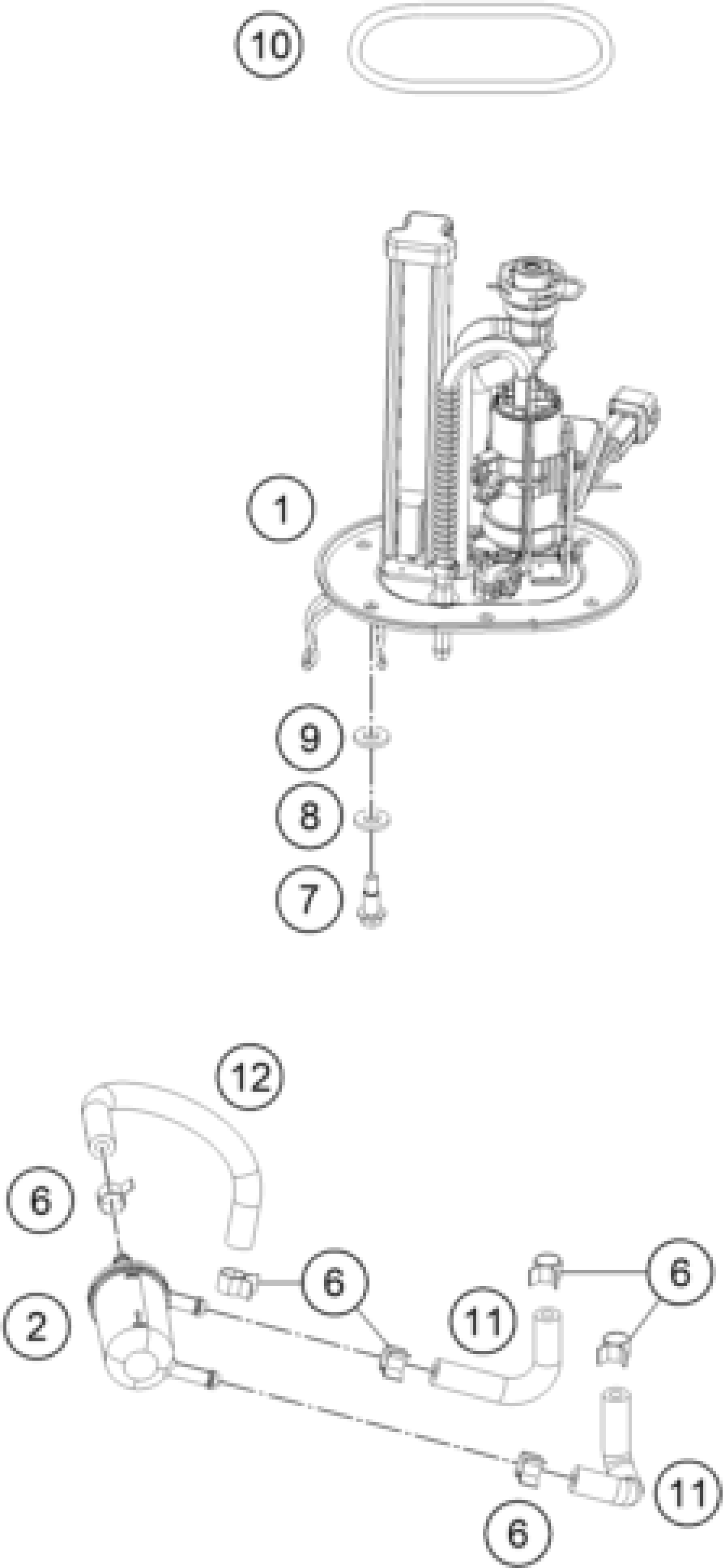
KTM RC 250 ORANGE B.D. 17 <2017> FUEL PUMP Diagram

#

Description
Price

1

FUEL PUMP

90807088000

$392.88

2

FUEL FILTER

90107018000

$18.50

6

CLAMP 10MM

90107018011

$2.05

7

SPECIAL SCREW FUEL PUMP

90507089110

$1.49

8

WASHER FUEL PUMP

90507088030

$1.49

9

NYLON WASHER

90507088020

$1.49

11

FUEL PIPE SHORT

90507018000

$7.00

12

FUEL HOSE R9

90107018010

$11.59

10

O-RING 81X4

J770081020

$8.78