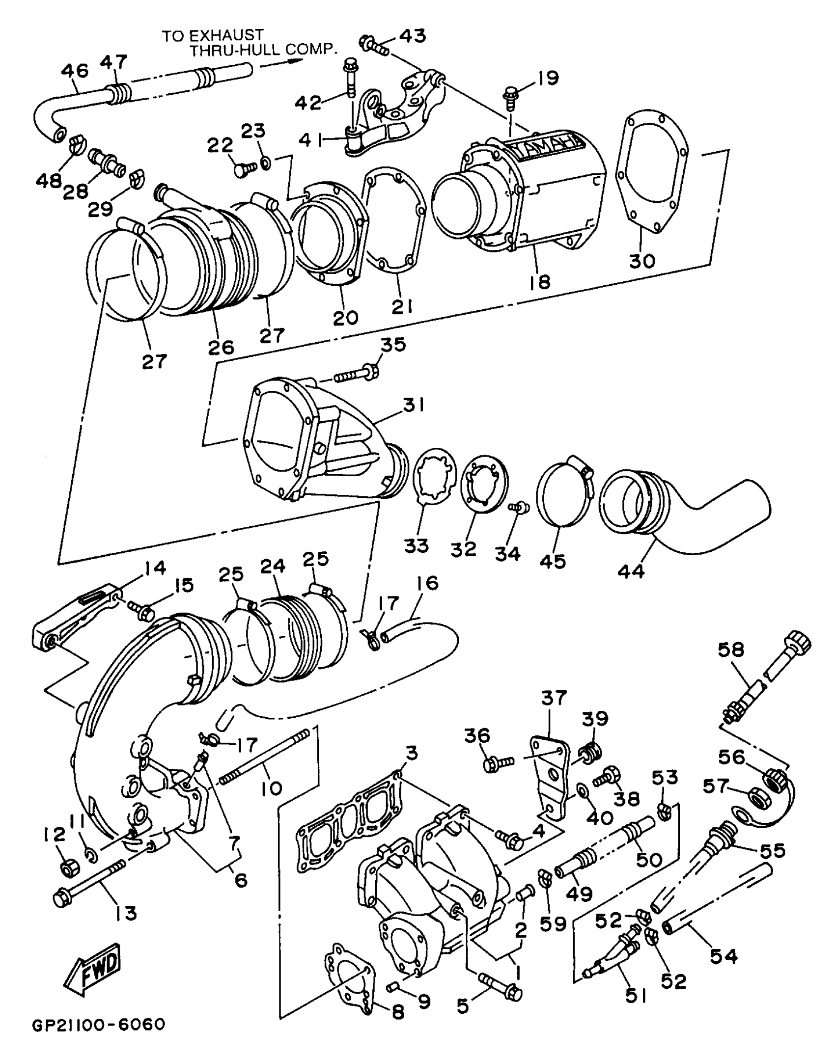
Yamaha RA760U (WAVE RAIDER 760) 1996 EXHAUST 1 Diagram
#
1
MUFFLER L
64X-14711-00-94
Unavailable
2
. NIPPLE
6K8-51129-00-00
Unavailable
3
GASKET, EXHAUST PIPE
62T-14613-01-00
Unavailable
4
BOLT, FLANGE
90105-10M60-00
Unavailable
5
BOLT, WASHER BASED
90105-10M72-00
Unavailable
6
RING,JOINT
64X-14712-00-94
Unavailable
7
. NIPPLE
6K8-51129-00-00
Unavailable
8
. GASKET, MUFFLER DAMPER 2
64X-14749-00-00
Unavailable
9
PIN, DOWEL(62T)
93605-12M21-00
Unavailable
10
BOLT, STUD
90116-08M59-00
Unavailable
13
BOLT, WITH WASHER
90119-08M11-00
Unavailable
14
STAY, MUFFLER 2
64X-14781-00-94
Unavailable
15
BOLT, WASHER BASED
90105-10M73-00
Unavailable
16
HOSE 2
63M-12577-00-00
Unavailable
17
CLAMP
90465-10098-00
Unavailable
18
MUFFLER 2
64X-14721-00-94
Unavailable
19
BOLT, FLANGE
90105-10M60-00
Unavailable
20
OUTER COVER, EXHAUST
62T-41113-00-8S
Unavailable
21
GASKET, EXHAUST OUTER COVER
62T-41114-01-00
Unavailable
22
BOLT(62Y)
97013-06025-00
Unavailable
23
WASHER, PLAIN (646)
92990-06600-00
Unavailable
24
JOINT, EXHAUST 2
62T-14625-00-00
Unavailable
25
HOSE CLAMP ASSY(62T)
90450-99M06-00
Unavailable
26
JOINT, EXHAUST 1
64X-14615-00-00
Unavailable
27
HOSE CLAMP ASSY
90450-99M18-00
Unavailable
28
JOINT, HOSE 2
64X-12582-00-00
Unavailable
29
HOSE CLAMP ASSY(64X)
90450-22M14-00
Unavailable
30
GASKET, EXHAUST OUTER COVER
64X-41124-01-00
Unavailable
31
OUTER COVER, EXHAUST
64X-41123-00-9M
Unavailable
32
SPACER
64X-14763-00-94
Unavailable
33
. GASKET, EXHAUST PIPE
64X-14623-00-00
Unavailable
34
SCREW, WITH WASHER
97985-06220-00
Unavailable
35
BOLT, WASHER BASED
90105-08M70-00
Unavailable
36
BOLT, WASHER BASED
90105-08M71-00
Unavailable
37
PLATE, STOPPER
64X-14717-01-00
Unavailable
38
BOLT, HEXAGON
97013-08016-00
Unavailable
39
GROMMET
90480-20M05-00
Unavailable
40
WASHER, PLAIN
92990-08200-00
Unavailable
41
STAY, MUFFLER 1
62T-14771-00-00
Unavailable
42
BOLT, WITH WASHER
90119-10M72-00
Unavailable
43
BOLT, WASHER BASED
90105-10M45-00
Unavailable
44
PIPE, OUTLET
64X-14752-00-00
Unavailable
45
HOSE CLAMP ASSY
90450-90001-00
Unavailable
46
HOSE 3
64X-12578-01-00
Unavailable
47
HOSE(63M)
90446-27M55-00
Unavailable
48
HOSE CLAMP ASSY(64X)
90450-22M14-00
Unavailable
49
HOSE
90445-14M03-00
Unavailable
50
HOSE
90446-20M53-00
Unavailable
51
JOINT, HOSE 1
64X-12581-00-00
Unavailable
52
HOSE CLAMP ASSY(62T)
90450-14M05-00
Unavailable
53
HOSE CLAMP ASSY
90450-18M09-00
Unavailable
54
HOSE (L1300)
90445-14M22-00
Unavailable
55
JOINT ASSY
63M-12580-00-00
Unavailable
56
CAP,1
682-84385-01-00
Unavailable
57
NUT
EU0-61652-00-00
Unavailable
58
CONDUCTION ASSY (US)
67X-E2590-00-00
Unavailable
59
BAND, HOSE 18
90601-118UF-00
Unavailable
