- Partiron
- OEM Parts
- Yamaha
- waverunner
- 1995
- RA700T (WAVE RAIDER) 1995
ELECTRICAL 2
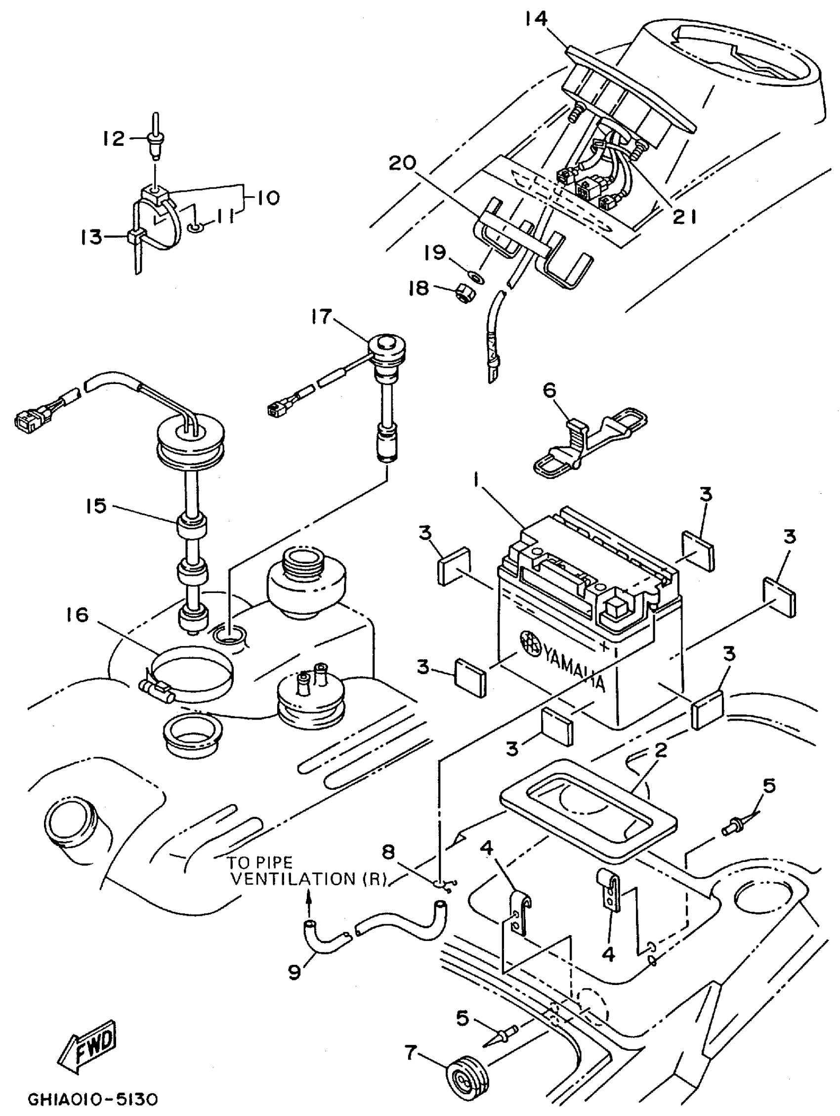
Yamaha RA700T (WAVE RAIDER) 1995 ELECTRICAL 2 Diagram
#
Description
Price
1
YB16CLB YUASA BATTERY
YB1-6CLB0-00-00
Unavailable
2
PAD, BATTERY
F1S-U8221-00-00
Unavailable
3
PAD, BATTERY 2
EU0-68221-30-00
Unavailable
4
HOOK A
GA7-65772-00-00
Unavailable
6
BAND, BATTERY
GA7-68218-00-00
Unavailable
7
GROMMET
FJ0-68222-01-00
Unavailable
8
CLIP
90467-08M10-00
Unavailable
9
HOSE, AIR VENT 4
FJ0-67856-30-00
Unavailable
11
. WASHER, PLAIN
90201-05925-00
Unavailable
12
RIVET, BLIND
90267-48802-00
Unavailable
13
BAND (EU0)
90601-20009-00
Unavailable
14
METER ASSEMBLY
GH1-6820A-20-00
Unavailable
15
SENDER, FUEL
GH1-6824B-00-00
Unavailable
16
BAND, HOSE 62
90601-162U5-00
Unavailable
17
SENDER, OIL
GH1-6824C-00-00
Unavailable
18
NUT, FLANGE
95720-05300-00
Unavailable
19
. WASHER, PLAIN
92990-05200-00
Unavailable
20
BRACKET, METER
GD0-68238-00-00
Unavailable
21
BAND (EU0)
90601-20009-00
Unavailable
