Yamaha RA700AT (WAVE RAIDER DELUXE) 1995 HULL DECK Diagram
#
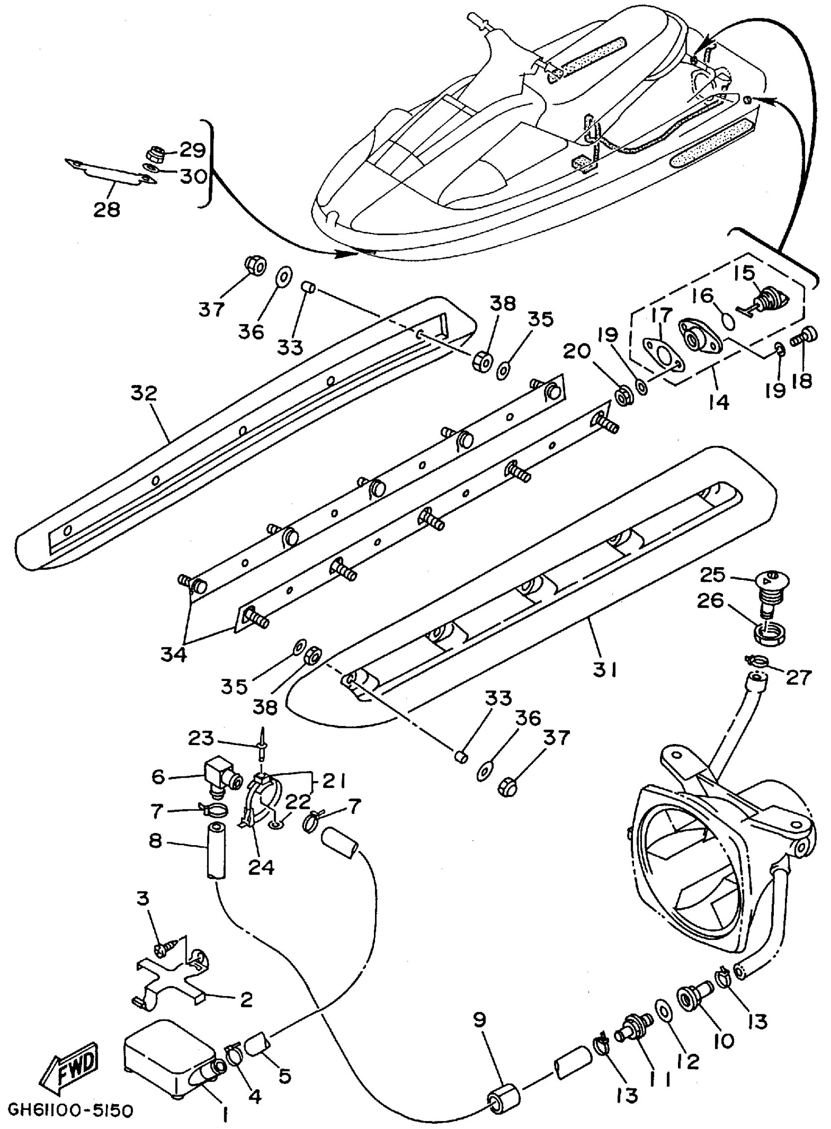
1
STRAINER, BILGE
GD0-6761D-00-00
Unavailable
2
BASE, STRAINER BLIGE
EW2-67618-00-00
Unavailable
3
SCREW, TAPPING(61A)
97780-50612-00
Unavailable
4
BAND
90601-200U1-00
Unavailable
5
HOSE
90445-19M01-00
Unavailable
6
JOINT, HOSE
61X-51162-00-00
Unavailable
8
HOSE
90445-19M04-00
Unavailable
9
PACKING, HOSE 2
GJ1-67578-10-00
Unavailable
10
CONNECTION, THRU-HULL 1/4
90604-80759-00
Unavailable
11
CONNECTION, THROUGH HALL (GD0)
90604-80775-00
Unavailable
12
GASKET
90430-13909-00
Unavailable
13
BAND
90601-200U1-00
Unavailable
14
DRAIN PLUG ASSY
EU0-62280-00-00
Unavailable
15
. PLUG, DRAIN
EU0-62282-00-00
Unavailable
16
. O-RING
EU0-62283-00-00
Unavailable
17
. PACKING DRAIN (EU0)
EU0-62285-01-00
Unavailable
18
SCREW, PAN HEAD(6A1)
97885-05020-00
Unavailable
19
. WASHER, PLAIN
92990-05200-00
Unavailable
20
NUT, FLANGE
95720-05300-00
Unavailable
21
CLAMP COMP (EU0)
90600-91736-00
Unavailable
22
. WASHER, PLAIN
90201-05925-00
Unavailable
23
RIVET, BLIND
90267-48802-00
Unavailable
24
BAND (EU0)
90601-20009-00
Unavailable
25
SPOUT
FN8-6269B-00-00
Unavailable
26
NUT
EU0-61652-00-00
Unavailable
27
CLAMP
90465-10098-00
Unavailable
28
BOWEYE 1
FN8-U1624-00-00
Unavailable
29
. NUT, SELF-LOCKING
95720-08300-00
Unavailable
30
WASHER, PLAIN
92990-08200-00
Unavailable
31
STABILIZER LH
GH1-6883N-30-00
Unavailable
32
STABILIZER RH
GH1-6883P-30-00
Unavailable
33
COLLAR(GH1)
90387-06916-00
Unavailable
34
BRACKET, STABILIZER
GH1-6883T-00-00
Unavailable
35
YBS66-6 WASHER, PLAIN
92990-06200-00
Unavailable
36
WASHER, PLATE
90201-06020-00
Unavailable
37
NUT
90179-06959-00
Unavailable
38
NUT(650)
95380-06700-00
Unavailable
