- Partiron
- OEM Parts
- Yamaha
- motorcycle
- 1969
- R3 (R3) 1969
SHIFTER (B)
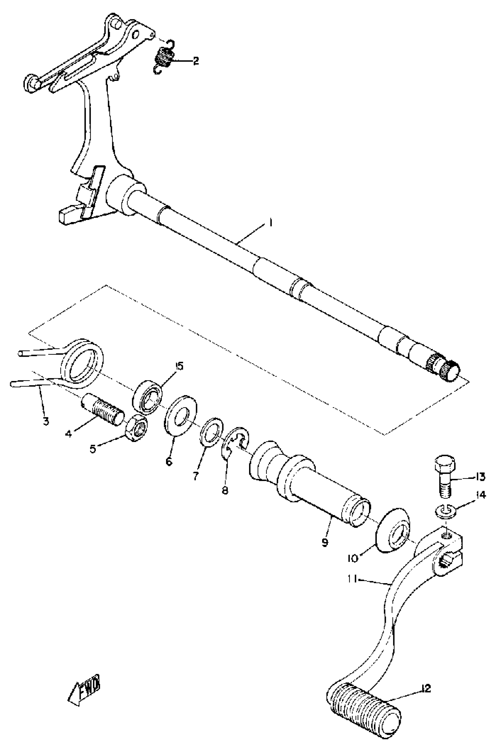
Yamaha R3 (R3) 1969 SHIFTER (B) Diagram
#
Description
Price
1
SHIFT SHAFT ASSEMBLY.1
(168-18101-02-00)
Unavailable
2
SPRING, TENSION
90506-08007-00
Unavailable
3
SPRING, TORSION
90508-32559-00
Unavailable
4
SCREW, SPEC''L SHAPE
(90149-10018-00)
Unavailable
5
NUT, HEXAGON
(90170-10169-00)
Unavailable
7
WASHER,PLATE
90201-12168-00
Unavailable
9
BOOT, SEALING
(168-18131-00-00)
Unavailable
10
SEAL, SHIFT SHAFT
(168-18132-01-00)
Unavailable
14
WASHER, SPRING
92995-06100-00
Unavailable
