- Partiron
- OEM Parts
- Yamaha
- motorcycle
- 1969
- R3 (R3) 1969
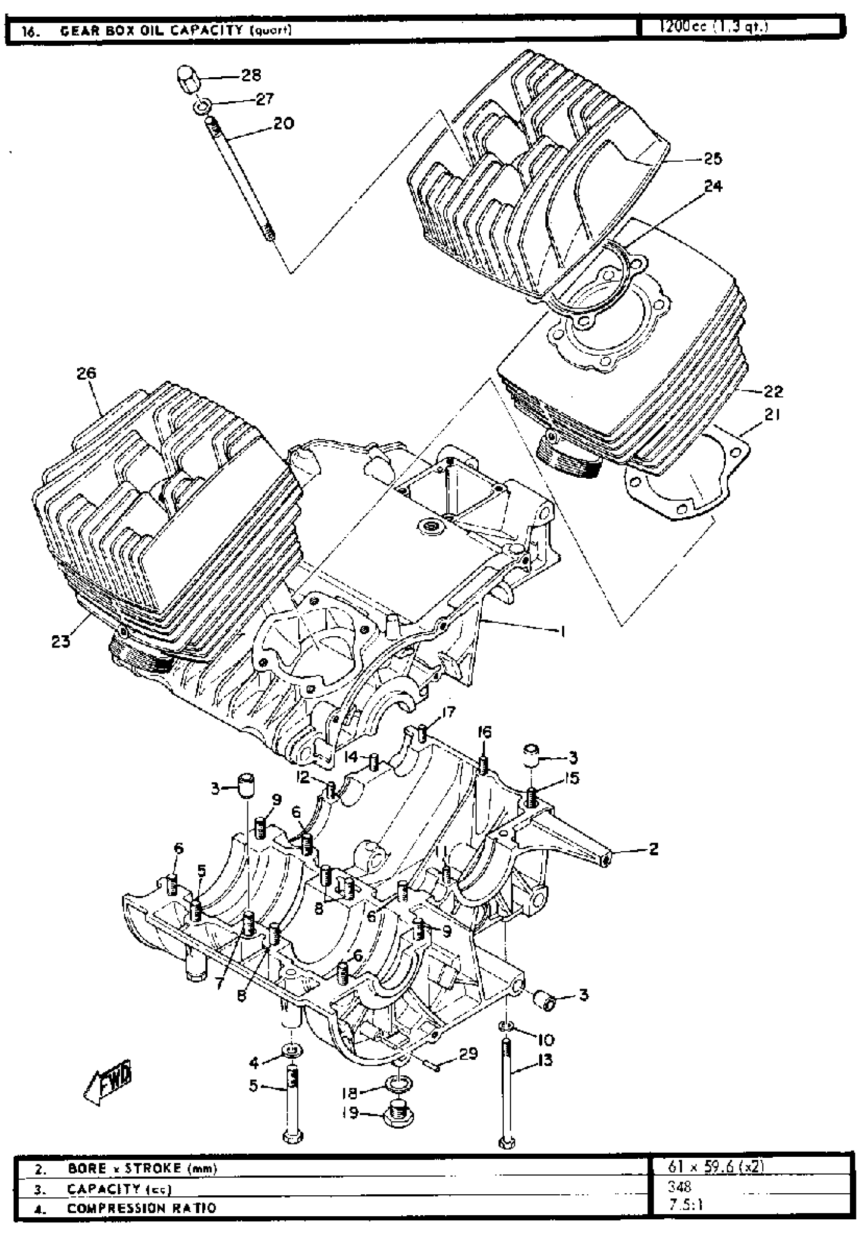
CRANK CASE
Yamaha R3 (R3) 1969 CRANK CASE Diagram
#
Description
Price
1
CRANKCASE ASSEMBLY
(168-15100-01-00)
Unavailable
4
WASHER, PLAIN
92990-08200-00
Unavailable
5
BOLT
97021-08065-00
Unavailable
6
BOLT,HEXAGON
97013-08085-00
Unavailable
11
BOLT, HEXAGON
(97321-06085-00)
Unavailable
12
BOLT, HEXAGON
97080-06100-00
Unavailable
13
BOLT, HEXAGON DEEP RECESS
97D95-06095-00
Unavailable
15
BOLT, HEXAGON
(97321-06105-00)
Unavailable
16
BOLT(62J)
97013-06070-00
Unavailable
17
BOLT, HEXAGON W/W DEEP RECESS
97E95-06555-00
Unavailable
18
WASHER, PROTECTOR
4F4-14766-00-00
Unavailable
19
PLUG, STRAIGHT SCREW
90340-14119-00
Unavailable
20
BOLT, STUD
90116-08079-00
Unavailable
21
GASKET, CYLINDER
168-11351-10-00
Unavailable
22
CYLINDER 1
(235-11311-00-00)
Unavailable
23
CYLINDER 2
(235-11321-00-00)
Unavailable
24
GASKET, CYLINDER HEAD 1
(168-11181-01-00)
Unavailable
25
HEAD, CYLINDER 1
(235-11111-00-00)
Unavailable
26
HEAD, CYLINDER 2
(235-11121-00-00)
Unavailable
27
WASHER, PLAIN
92990-08200-00
Unavailable
28
NUT, CROWN
(90176-08017-00)
Unavailable
29
PIN, DOWEL
93603-14026-00
Unavailable
